EasyManua.ls Logo

Calorex PPT12 - Main Assembly Ppt12 Blx

Calorex PPT12
119 pages
Print Icon
To Next Page IconTo Next Page
To Next Page IconTo Next Page
To Previous Page IconTo Previous Page
To Previous Page IconTo Previous Page
Loading...
Page 65
Calorex Heat Pumps Ltd. · The Causeway, Maldon, Essex CM9 4XD, UK
Technical Manual
PPT8/12/16/22LX/LY SLIMLINE
SD638160 ISSUE 22d
®
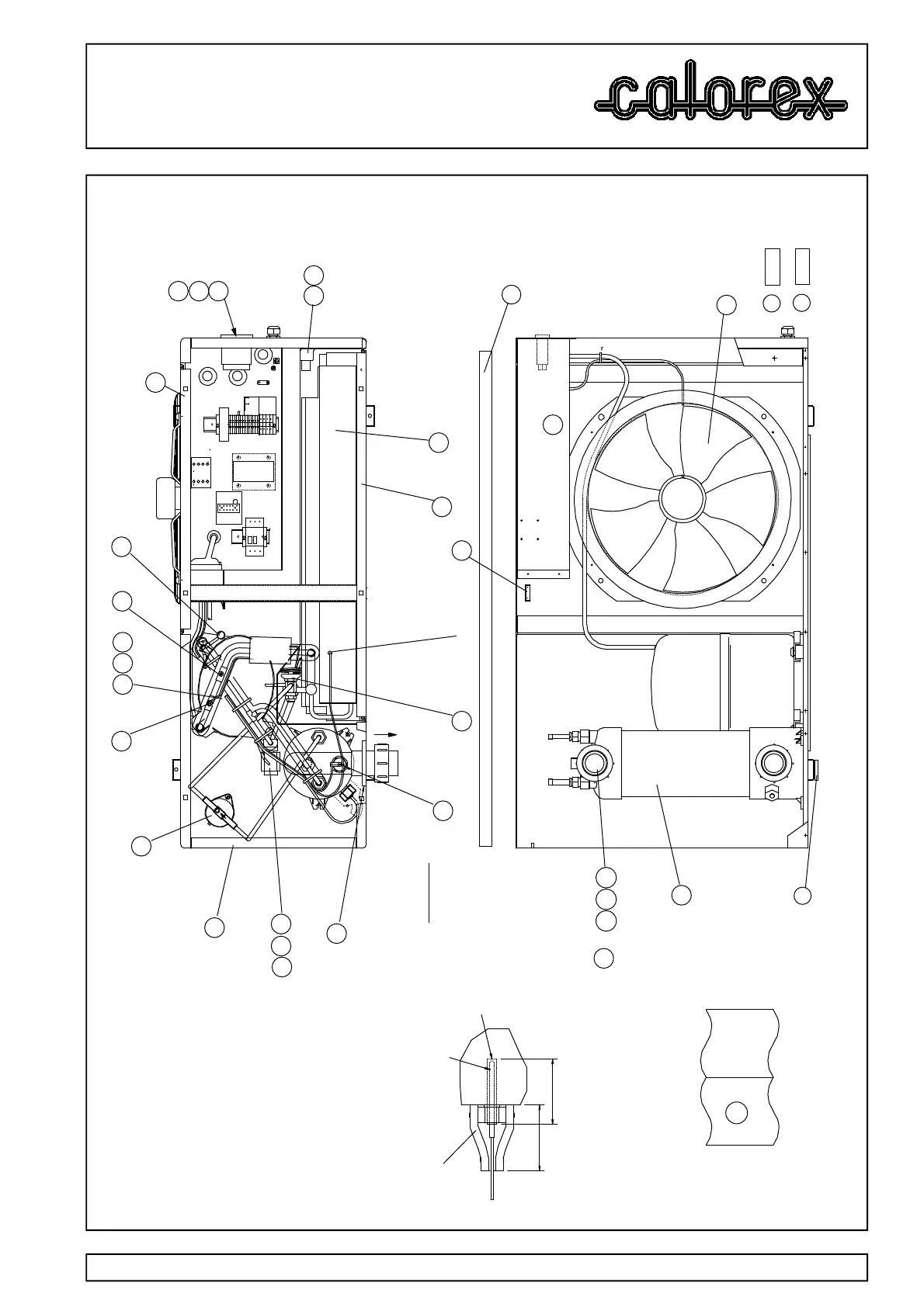
MAIN ASSEMBLY PPT12BLX
i
15
NOTE DIRECTION OF ARROW
FLOW SWITCH TO BE HAND TIGHT (8Nm)
DO NOT USE A TOOL
WATER TEMPERATURE
SENSOR PROBE POCKET
(SEE FIG.3)
2
94
93
USE
OR
DEFROST STAT PROBE
POSITION IN EVAPORATOR
76
2
4
6 7
14
3
16
5
8
24
13 2726
10
17
18
19
20
85.00
CONDENSER WATER
TEMPERATURE POCKET
SENSOR PROBE
(PART OF ITEM 20)
CABLE TIE AROUND
CABLE
CABLE TIE AROUND
POCKET NUT
PLACE THERMAL MASTIC INTO POCKET
THEN FULLY INSERT PROBE.
FIT THE INSULATION SLEEVE AND SECURE
WITH CABLE TIES TO BOTH THE POCKET
NUT AND THE PROBE CABLE TO SEAL
THE PROBE FROM AMBIENT AIR.
FIG 3
TEMP PROBE DETAIL
85.00 REF
(POCKET DEPTH)
INSULATION
95
2
OR
8990
91
24
23
21
96
73
1 3 5 13
2 4 6 14
NO
NO
A1 A2
1213 14155 6 7 8 9
'Y'
VRSN
ONLY
REVERSING
VALVE
WATER
FLOW
SWITCH
FAN
CAP
FAN
N
FAN
L
161718 191011
N
L2
L1
L3
1 3 5
2 64
1411
L1 L2
L3
808586
2 2 2
25

Table of Contents

Other manuals for Calorex PPT12

Related product manuals