EasyManua.ls Logo

CEA 4001 - Page 148

Default Icon
190 pages
Print Icon
To Next Page IconTo Next Page
To Next Page IconTo Next Page
To Previous Page IconTo Previous Page
To Previous Page IconTo Previous Page
Loading...
148
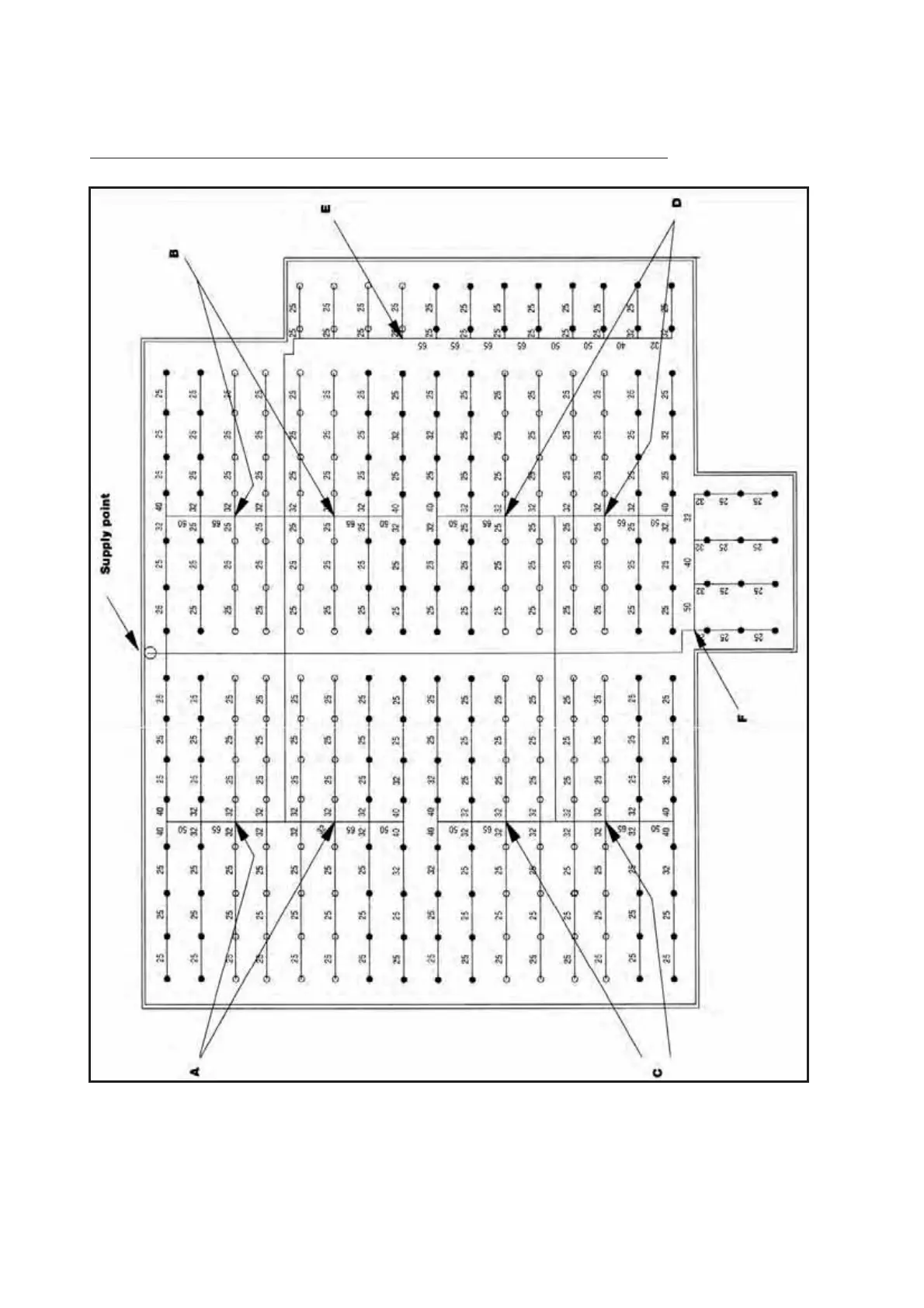
Figure 19- Example of application of design points in an OH installation (see G.2.2) (H4)

Table of Contents