EasyManua.ls Logo

Comtech EF Data CSAT-5060 - Page 177

Default Icon
226 pages
Print Icon
To Next Page IconTo Next Page
To Next Page IconTo Next Page
To Previous Page IconTo Previous Page
To Previous Page IconTo Previous Page
Loading...
C-Band Transceiver Revision 1
CSAT-5060 5 to 25 Watt Installation MN/CSAT5060.IOM
A–23
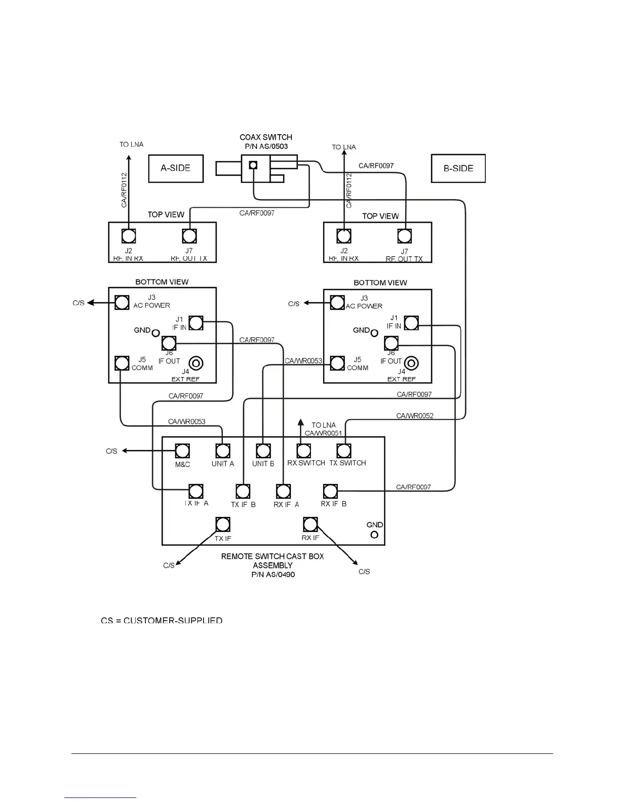
Figure A-24. Cabling the Redundant Configuration
(Block Diagram)

Table of Contents