EasyManua.ls Logo

Comtech EF Data CSAT-5060 - Page 201

Default Icon
226 pages
Print Icon
To Next Page IconTo Next Page
To Next Page IconTo Next Page
To Previous Page IconTo Previous Page
To Previous Page IconTo Previous Page
Loading...
C-Band Transceiver Revision 1
CSAT-5060 50 Watt Installation MN/CSAT5060.IOM
B–23
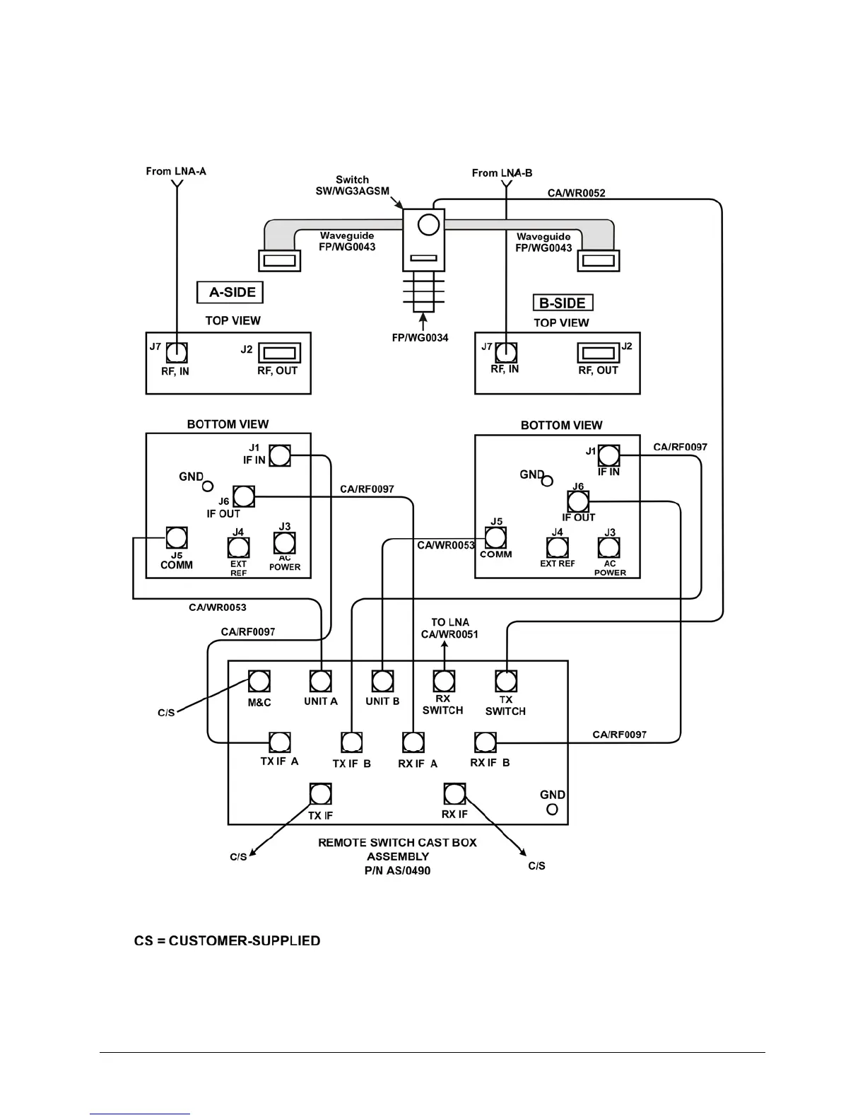
Figure B-21. Cable Installation
43
43

Table of Contents