EasyManua.ls Logo

CVC 310 - Fine-Tuning Labeling Parameters; Label Sensitivity Adjustment

CVC 310
128 pages
Print Icon
To Next Page IconTo Next Page
To Next Page IconTo Next Page
To Previous Page IconTo Previous Page
To Previous Page IconTo Previous Page
Loading...
CVC TECHNOLOGIES, INC. CVC 310 OPERATION MANUAL
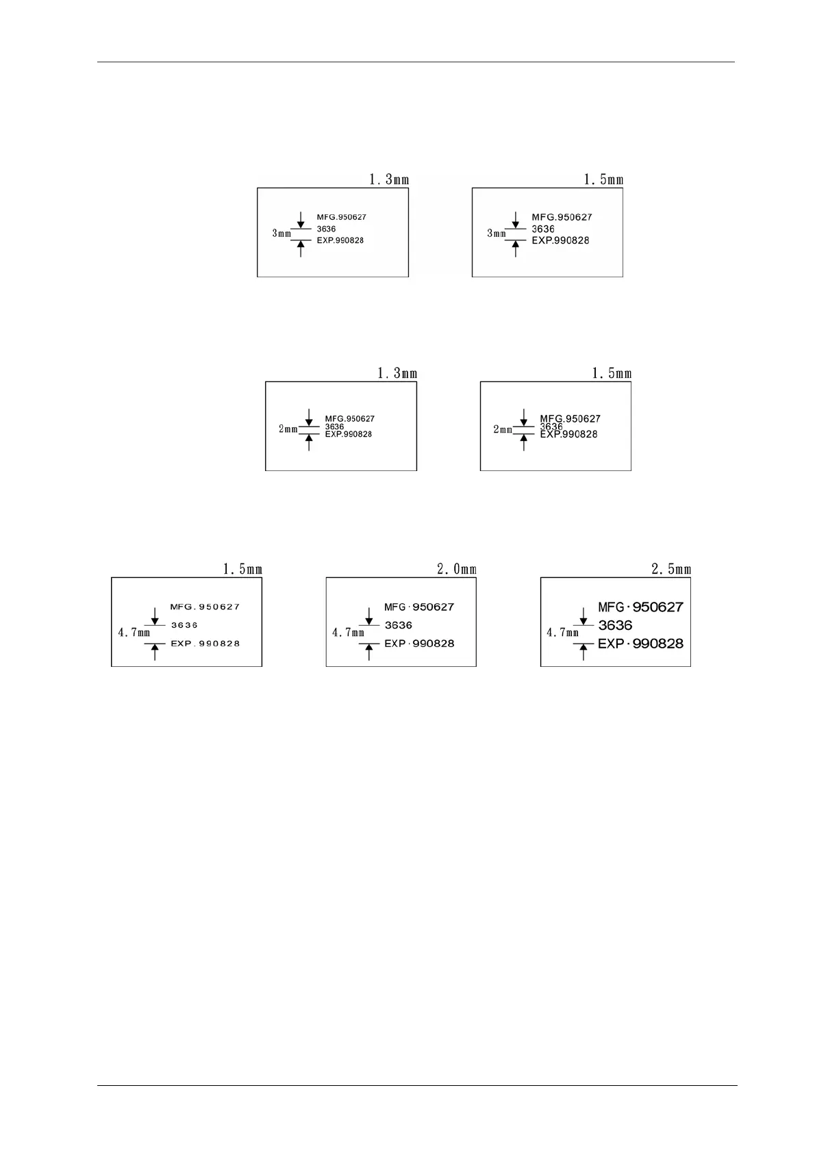
2.3.3 Sample of Stamps Numbers
2.3.3.1 Brass Line-Spacing Type for Wide Head
Fig
2.3-4
2.3.3.2 Brass Line-Spacing Type for Narrow Head
2 - 6
Fig
2.3-5
Fig
2.3-6
2.3.3.3 Nickel Alloy Type

Table of Contents

Related product manuals