EasyManua.ls Logo

Daher TBM 930 - Page 176

Daher TBM 930
877 pages
Print Icon
To Next Page IconTo Next Page
To Next Page IconTo Next Page
To Previous Page IconTo Previous Page
To Previous Page IconTo Previous Page
Loading...
Pilot's Operating Handbook
Section 3
Emergency procedures
EASA Approved
Edition 1 - January 15, 2018
Rev. 0
Page 3.9.10
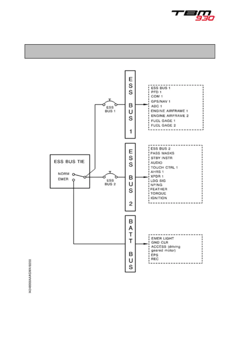
Bus bar 3/3
Figure 3.9.1 (3/3) - Electrical distribution of bus bars
PIM - DO NOT USE FOR FLIGHT OPERATIONS

Table of Contents