EasyManua.ls Logo

Daher TBM 930 - Pilots Operating Handbook; General; Limitations

Daher TBM 930
877 pages
Print Icon
To Next Page IconTo Next Page
To Next Page IconTo Next Page
To Previous Page IconTo Previous Page
To Previous Page IconTo Previous Page
Loading...
Pilot's Operating Handbook
Supplement 59
Brazil specifics
Edition 1 - December 31, 2015
Rev. 2
Page 9.59.2
SECTION 1
Gen
eral
This supplement is intended to inform the pilot about the airplane specifics, among
others those required by the relevant Certification Authorities (limitations, description
and operations necessary to the operation of the TBM airplane).
SECTION 2
Limitations
The limitations hereafter supplement or replace those of the standard airplane
described in section 2 Limitations of the basic POH.
2.5 - Weight and C.G. limits
Wei
ght limits
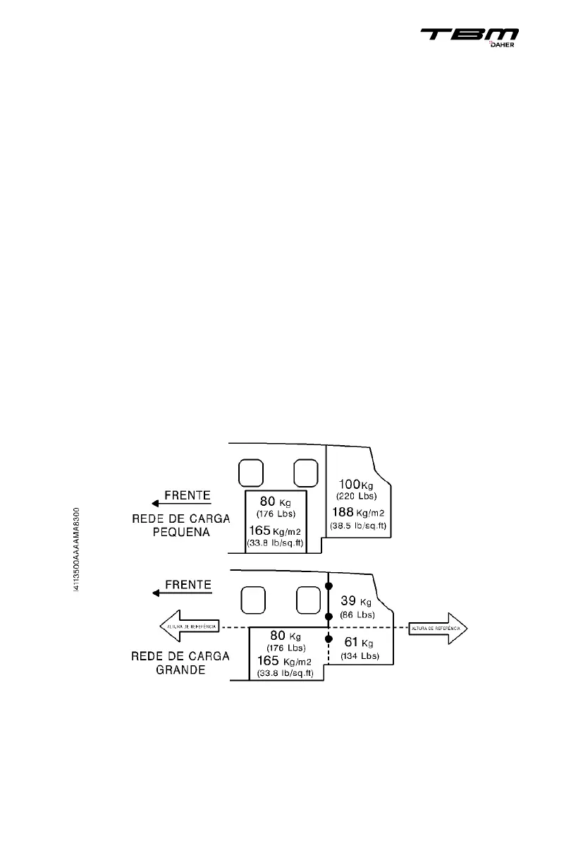
>> With 4-seat accommodation
- in rear part of pressurized cabin : 396 lbs (180 kg), with small or large net (see
sketch below)
Figure 2.5.1 - Baggage limits
PIM - DO NOT USE FOR FLIGHT OPERATIONS

Table of Contents

Related product manuals