EasyManua.ls Logo

Daher TBM 930 - Page 449

Daher TBM 930
877 pages
Print Icon
To Next Page IconTo Next Page
To Next Page IconTo Next Page
To Previous Page IconTo Previous Page
To Previous Page IconTo Previous Page
Loading...
Pilot's Operating Handbook
Section 6
Weight and balance
Edition 1 - January 15, 2018
Rev. 4
Page 6.4.7
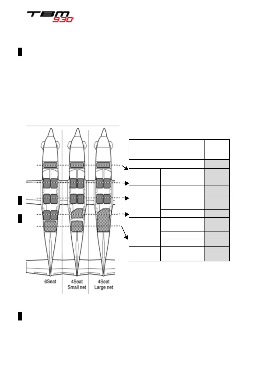
>> From S/N 1160
Item
Weight
(kg)
Empty weight
(1a)
Baggage
FWD
(< 50 kg)
(2a)
Front seats
(2a)
Inter. seats
-15 kg per seat
removed *
(2a)
Pax
(2a)
Rear
bench/net
-20.5 kg per seat
removed *
(2a)
Pax
(2a)
Cargo (< 80 kg)
(2a)
Baggage
AFT
(< 100 kg)
(2a)
* Seats weights do not include seat heating system
PIM - DO NOT USE FOR FLIGHT OPERATIONS

Table of Contents

Related product manuals