EasyManua.ls Logo

Daikin DCS303A51 - Page 25

Daikin DCS303A51
51 pages
Print Icon
To Next Page IconTo Next Page
To Next Page IconTo Next Page
To Previous Page IconTo Previous Page
To Previous Page IconTo Previous Page
Loading...
24
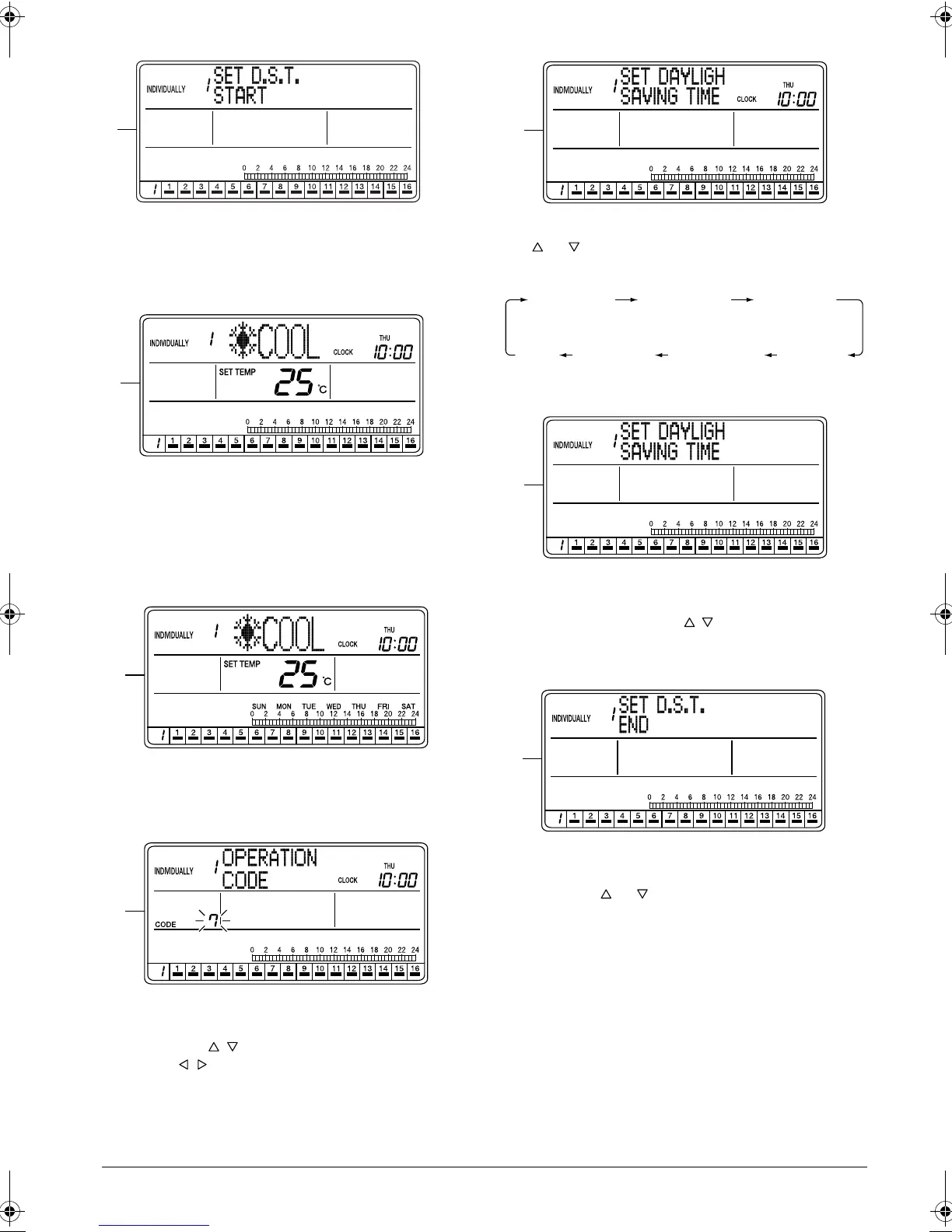
T. The display returns to the setting screen for the
daylight saving period.
To continue setting the end day of the daylight sav-
ing period, see E on page 24.
U. If no button is operated for 1 minute or if the FUNC-
TION button (1) is pressed once, the display
returns to the INDIVIDUALLY screen.
[Screen Display: SET D.S.T. (DAYLIGHT
SAVING TIME) END]
A. To set the daylight saving period, press the FUNC-
TION button (1) once while the ALL screen or
INDIVIDUALLY screen is displayed.
B. The Function Menu appears.
If no button is operated for 2 seconds, a guidance
message, “ BUTTONS: CHANGE FUNC-
TION, BUTTONS: CHANGE OPERATION
CODE, SET/CANCEL BUTTON: SET,” appears in
the operation mode display section (dot matrix).
C. The Function Menu changes as follows when the
or button (2) is pressed.
Display the Daylight Saving setting screen.
D. The Daylight Saving setting screen appears.
If no button is operated for 2 seconds in screen D,
a guidance message, “ BUTTONS: CHANGE
FUNCTION, SET/CANCEL BUTTON: SET D.S.T
PERIOD,” appears.
E. Press the SET/CANCEL button (3) to display the
menu screen for setting the daylight saving period.
Press the or button (2) to select the end day
of the daylight saving period.
T
U
A
B
C
OPERATION
CODE
RESET
FILTER SIGN
OUTDOOR
TEMP
DISPLAY
DAYLIGHT
SAVING
SET DAYLIGHT
SAVING TIME
CONTRAST
KEY
LOCK
D
E
01_EN_3P124623-10N.fm Page 24 Monday, January 28, 2008 4:58 PM

Related product manuals