EasyManua.ls Logo

Daikin DCS303A51 - Page 24

Daikin DCS303A51
51 pages
Print Icon
To Next Page IconTo Next Page
To Next Page IconTo Next Page
To Previous Page IconTo Previous Page
To Previous Page IconTo Previous Page
Loading...
23
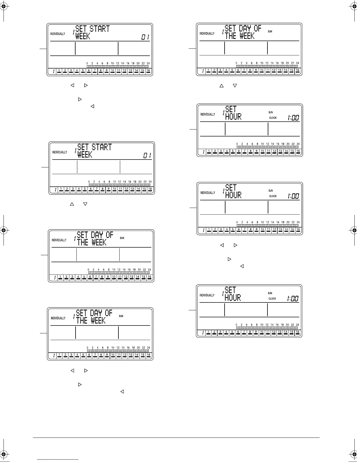
L. Using the or button (4), set the week of the
daylight saving start day.
Pressing the button advances the week indica-
tion. Pressing the button reverses the indica-
tion.
* 01 - 04: 1st week to 4th week, 05: final week of
the set month
.
M. Press the or button (2) to select the input set-
ting for the day of the week of the daylight saving
start day.
N. The display changes to the input setting screen for
the day of the week of the daylight saving start day.
O. Using the or button (4), set the day of the
week of the daylight saving start day.
Pressing the button advances the day of the
week indication. Pressing the button reverses
the indication.
P. Press the or button (2) to select the input set-
ting for the daylight saving start time.
Q. The display changes to the input setting screen for
the daylight saving start time.
R. Using the or button (4), set the daylight sav-
ing start time.
Pressing the button advances the time indica-
tion. Pressing the button reverses the indica-
tion.
S. Press the SET/CANCEL button (3) to end the set-
ting.
L
M
N
O
P
Q
R
S
01_EN_3P124623-10N.fm Page 23 Monday, January 28, 2008 4:58 PM

Related product manuals