EasyManua.ls Logo

Daikin DCS303A51 - Page 32

Daikin DCS303A51
51 pages
Print Icon
To Next Page IconTo Next Page
To Next Page IconTo Next Page
To Previous Page IconTo Previous Page
To Previous Page IconTo Previous Page
Loading...
31
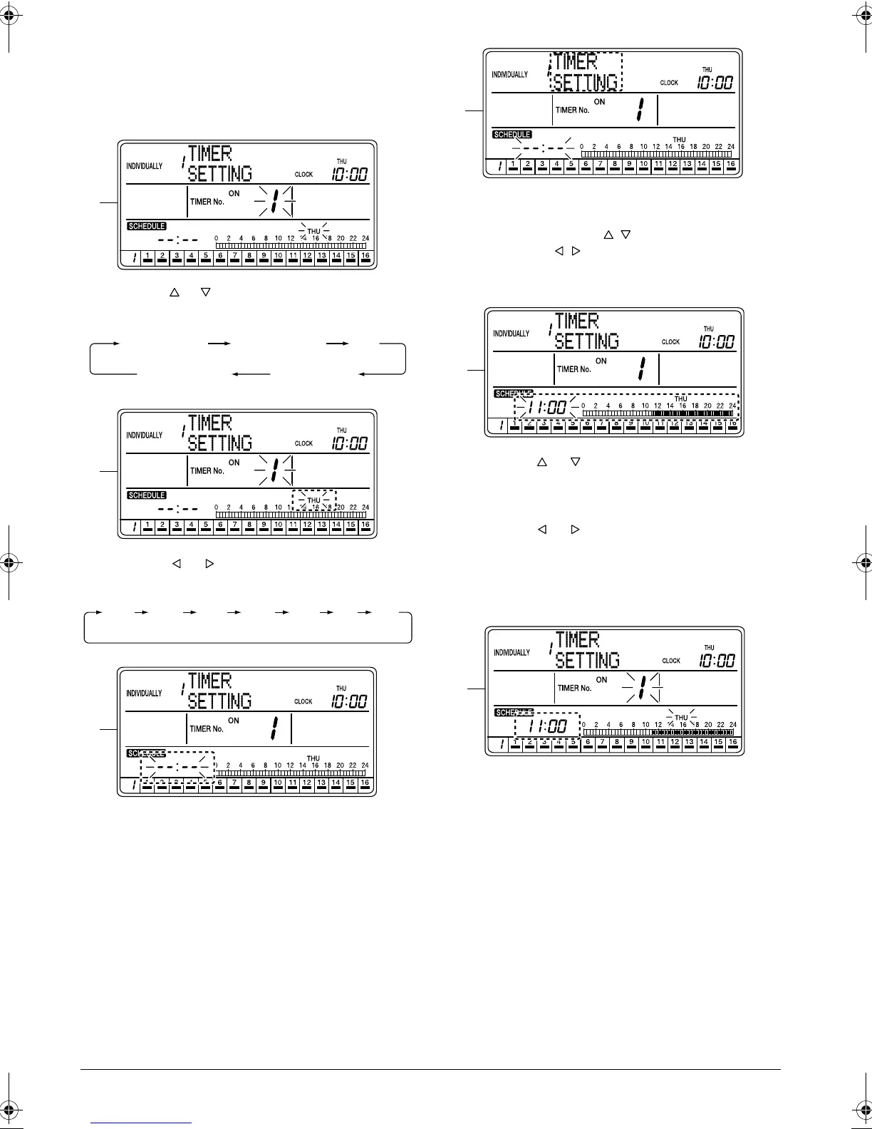
C. Using the ALL button (3) or one of the individual
group selection buttons (4) (1 - 16), select the air
conditioner (group) to be set.
* If the timer is set in the ALL screen, the setting
will apply to all air conditioners (groups).
D. Using the or button (2), select TIMER ON and
a Timer No. (7).
E. Using the or button (5), select the day of the
week to set.
F. Press the SET/CANCEL button (6) once to apply
the setting.
The Timer No. (7) and “day of the week” indica-
tions change from blinking to constant On, and the
set time indication blinks.
When the SET/CANCEL button (6) is pressed
once again, the display returns to screen B (blink-
ing Timer No. (7) and “day of the week” indications)
shown on page 30.
G. If no button is operated for 2 seconds while the dis-
play shows screen G or screen H on page 31, a
guidance message, “ BUTTONS: CHANGE
FUNCTION, BUTTONS: SET TIME, SET/
CANCEL BUTTON: SET,” appears and scrolls in
the operation mode display section (dot matrix).
H. Using the or button (2), select “SCHEDULE
SETTING”. (This procedure is not necessary since
“SCHEDULE SETTING” was selected in the first
step.)
Press the or button (5) to set time.
The blinking set time indication and the schedule
bar graph shows the time setting.
* When the button is held pressed, the displayed
time changes faster.
I. Press the SET/CANCEL button (6) once to apply
the setting.
The set time indication changes from blinking to
constant On, and the display returns to screen B
(blinking Timer No. (7) and “day of the week” indi-
cations) shown on page 30.
To set a Timer OFF time continuously, see section
D on page 32.
D
TIMER 1 ON
TIMER 1 OFF
TIMER 4 ONTIMER 4 OFF
·····
E
SUN MON TUE WED THU FRI SAT
F
G
H
I
01_EN_3P124623-10N.fm Page 31 Monday, January 28, 2008 4:58 PM

Related product manuals