EasyManua.ls Logo

Denso BHT-8000 - Page 212

Denso BHT-8000
219 pages
Print Icon
To Next Page IconTo Next Page
To Next Page IconTo Next Page
To Previous Page IconTo Previous Page
To Previous Page IconTo Previous Page
Loading...
Appendices
199
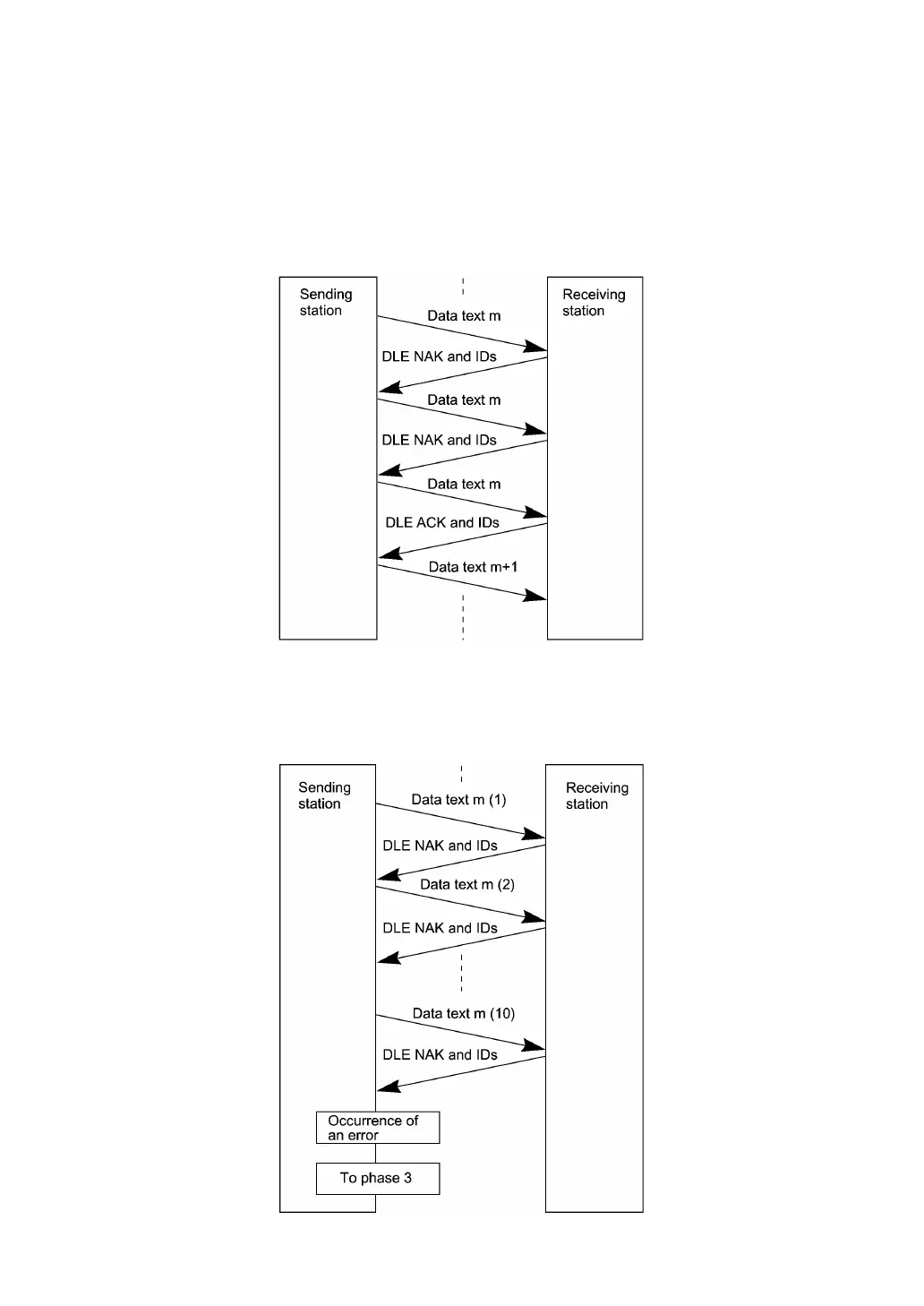
! Phase 2 with a sequence of DLE NAK and IDs
If the sending station receives a sequence of DLE NAK and IDs from the receiving station in response to
a transmission block containing text data m, then it sends that transmission block again immediately as
shown below.
If the sending station receives a sequence of DLE ACK and IDs before receiving the sequence of DLE
NAK and IDs 10 times in succession, then it continues the subsequent message transmission.
If the sending station receives a sequence of DLE NAK and IDs 10 times in succession or it fails to send
a same transmission block, then it shifts to phase 3 to terminate the message transmission abnormally.
Even if the phase 3 terminates normally, the transmission results in an abnormal end.

Table of Contents

Other manuals for Denso BHT-8000

Related product manuals