EasyManua.ls Logo

Denso BHT-8000 - Page 213

Denso BHT-8000
219 pages
Print Icon
To Next Page IconTo Next Page
To Next Page IconTo Next Page
To Previous Page IconTo Previous Page
To Previous Page IconTo Previous Page
Loading...
200
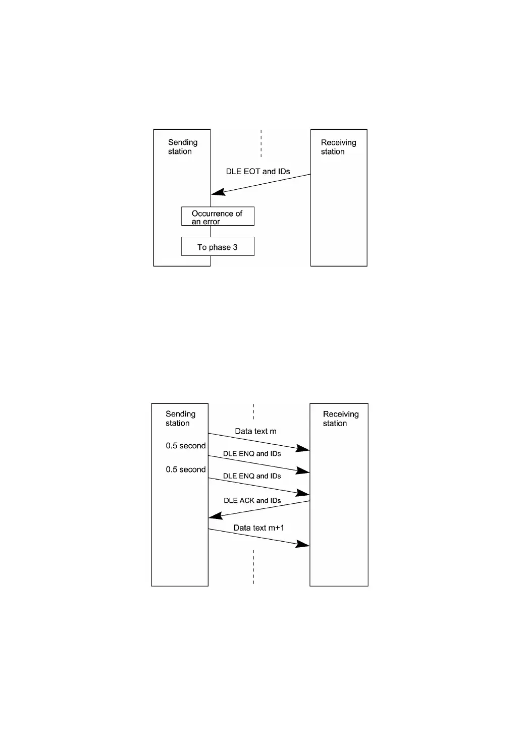
! Phase 2 with a sequence of DLE EOT and IDs
If the sending station receives a sequence of DLE EOT and IDs anytime during phase 2, it shifts to
phase 3 to terminate the message transmission abnormally. Even if the phase 3 terminates normally,
the transmission results in an abnormal end.
! Phase 2 with iterated transmission of DLE ENQ and IDs due to no response or invalid
response
If the sending station receives no response or any invalid response from the receiving station in
response to a transmission block sent, it iterates sending of a sequence of DLE ENQ and IDs at
0.5-second intervals up to 59 times.
If the sending station receives a sequence of DLE ACK and IDs before sending the sequence of DLE
ENQ and IDs 59 times, it continues the subsequent message transmission.

Table of Contents

Other manuals for Denso BHT-8000

Related product manuals