EasyManua.ls Logo

Denso BHT-8000 - Page 214

Denso BHT-8000
219 pages
Print Icon
To Next Page IconTo Next Page
To Next Page IconTo Next Page
To Previous Page IconTo Previous Page
To Previous Page IconTo Previous Page
Loading...
Appendices
201
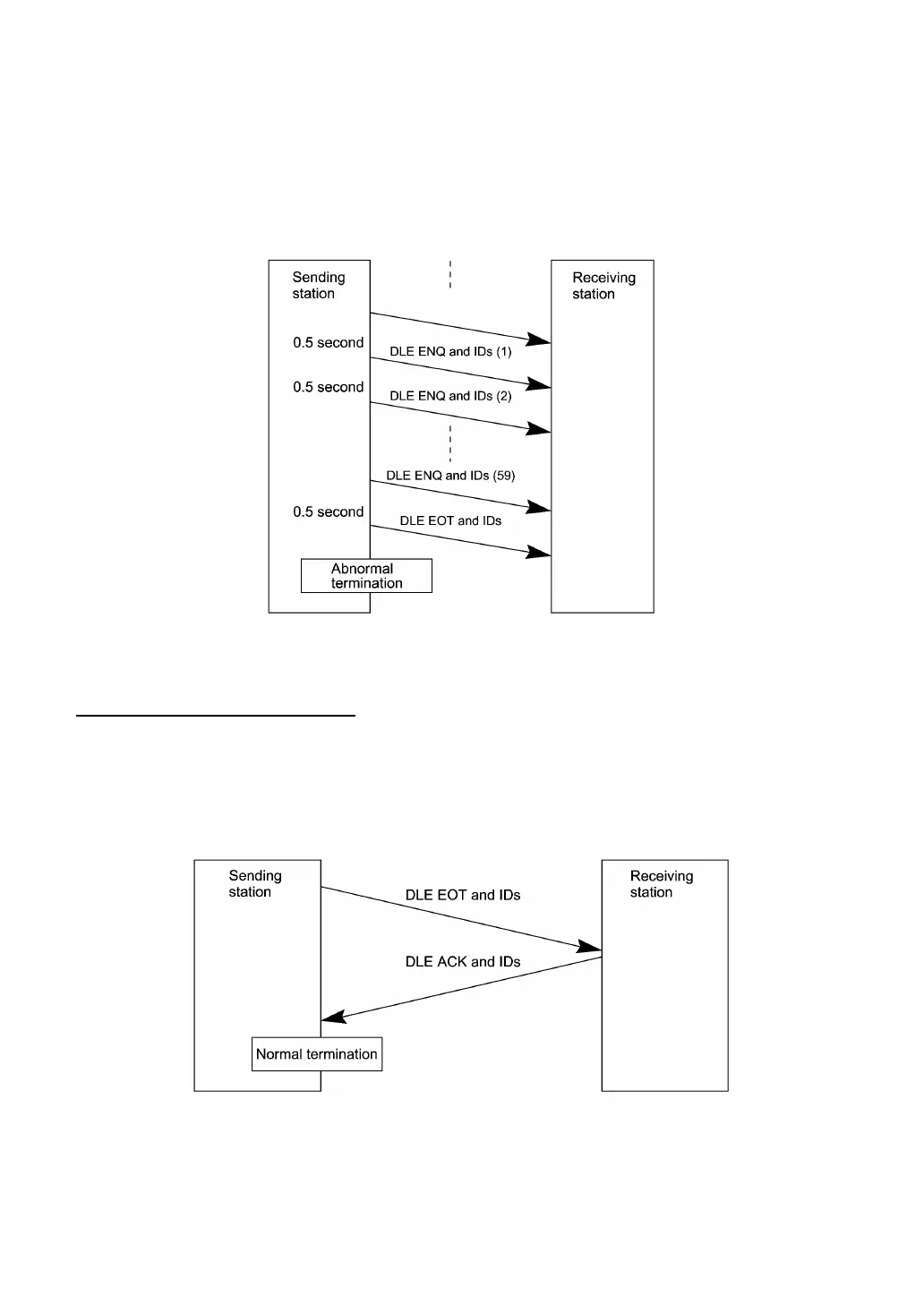
! Abnormal termination of phase 2 (Abort of phase 2)
If the sending station receives no sequence of DLE ACK and IDs from the receiving station after sending
a sequence of DLE ENQ and IDs 59 times in succession, then it sends a sequence of DLE EOT and IDs
to the receiving station after 0.5 second from the 59th sequence of DLE ENQ and IDs and then aborts
this transmission abnormally.
Phase 3: Release of Data Link
! Normal phase 3
The sending station transmits a sequence of DLE EOT and IDs to the receiving station. Upon receipt of
a sequence of DLE ACK and IDs from the receiving station, the sending station terminates the message
transmission normally and releases the data link.

Table of Contents

Other manuals for Denso BHT-8000

Related product manuals