EasyManua.ls Logo

Devatec ELECTROVAP MC2 - Installation - Step 6: Transformer Wiring Diagrams; 3-Phase Transformer Wiring (440-600 V)

Default Icon
60 pages
Print Icon
To Next Page IconTo Next Page
To Next Page IconTo Next Page
To Previous Page IconTo Previous Page
To Previous Page IconTo Previous Page
Loading...
27 Pictures for illustrating purposes only
3 x
208-230V
50-60Hz
GROUND
L2
L1
N
L3
L
PE
ELMC 5
to 70
Q1: 2 poles 2A
Power In
Q2: 3 poles
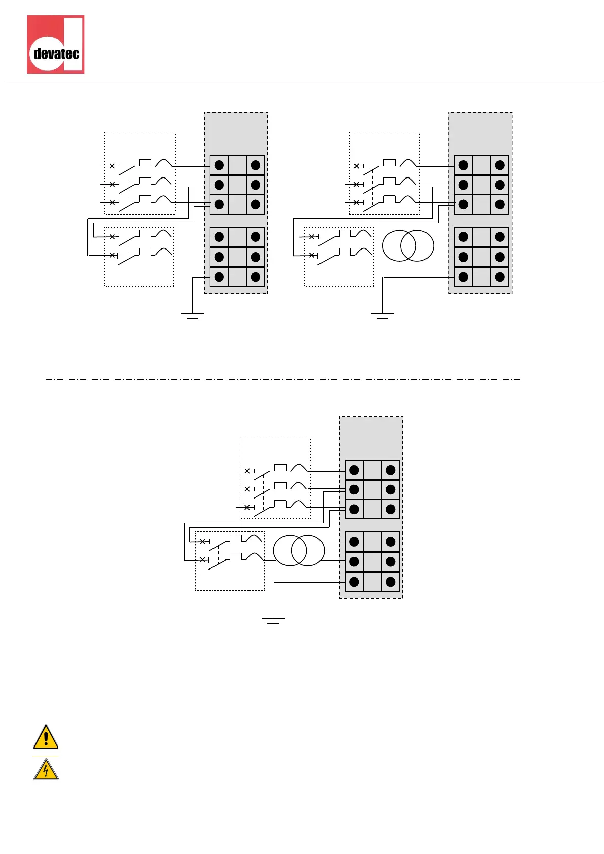
F) U= 3 x 440-460-480 V
3 x 440V
460-480V
50-60Hz
GROUND
L2
L1
N
L3
L
PE
ELMC 5
to 90
Q1: 2 poles
Power In
Q2: 3 poles
T
T: Transformer
prim: 460V / sec: 230V
S = 100 VA
G) U= 3 x 575 - 600 V
3 x 575V
600 V
50-60Hz
GROUND
L2
L1
N
L3
L
PE
ELMC 5
to 90
Q1: 2 poles
Power In
Q2: 3 poles
T
T: Transformer
prim: 575V, 600V / sec: 230V
S = 100 VA
Failure to observe manufacturers installation recommendations will invalidate the manu-
facturers warranty.
ALL WORKS CONCERNED WITH ELECTRICAL INSTALLATION MUST BE CARRIED OUT BY A SKILLED AND QUALIFIED PERSONNEL
ELECTROVAP MC2 STEAM BATH
Installation - Step 6

Table of Contents