EasyManua.ls Logo

Eagle TT-4 - Hydraulic Brake System

Eagle TT-4
170 pages
Print Icon
To Next Page IconTo Next Page
To Next Page IconTo Next Page
To Previous Page IconTo Previous Page
To Previous Page IconTo Previous Page
Loading...
84
REV30 8.4.15 TT4-8 4TNV98
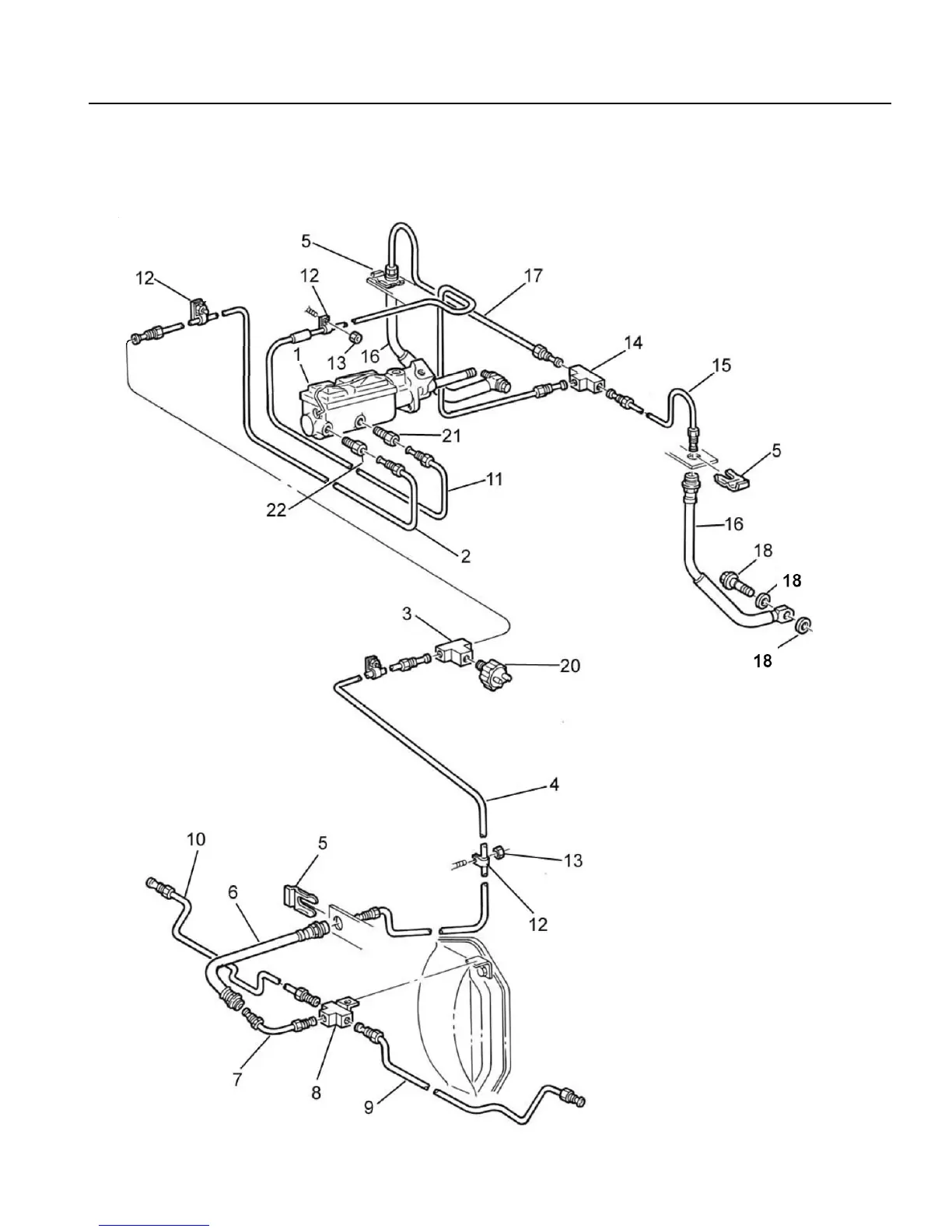
BRAKE SYSTEMHYDRAULIC
18
BRAKES

Table of Contents

Other manuals for Eagle TT-4

Related product manuals