EasyManua.ls Logo

ENCAD CADJET - Carriage Assembly Circuits

Default Icon
164 pages
Print Icon
To Next Page IconTo Next Page
To Next Page IconTo Next Page
To Previous Page IconTo Previous Page
To Previous Page IconTo Previous Page
Loading...
2-14 Theory of Operation
CadJet 3D Service Manual
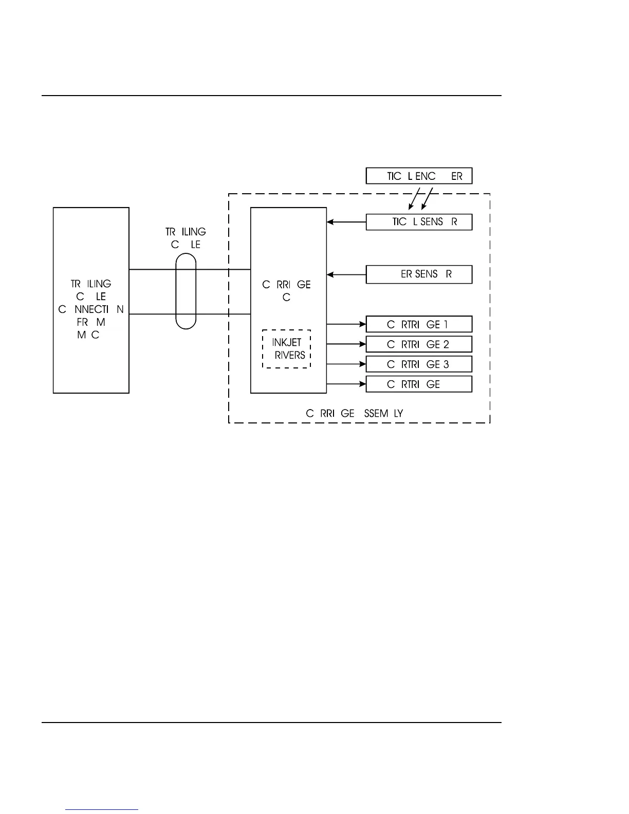
Carriage Assembly Circuits
Figure 2-10. Carriage Assembly Circuits.
The Carriage Assembly contains:
1) Carriage PCB
2) Optical Sensors
3) Paper Sensor
4) Inkjet Cartridges
The Carriage PCB contains the logic and drive circuitry for the firing of
the inkjet cartridges. It also establishes an interface path for the optical
sensor and paper sensor to communicate with the MPCB.
The optical sensors receive their inputs from the optical encoder strip
and sends this data to the MPCB. The MPCB uses this information to
determine the horizontal position of the carriage assembly so that
accurate printing can be established.

Table of Contents

Related product manuals