EasyManua.ls Logo

Excel KP-200 - Page 63

Excel KP-200
93 pages
Print Icon
To Next Page IconTo Next Page
To Next Page IconTo Next Page
To Previous Page IconTo Previous Page
To Previous Page IconTo Previous Page
Loading...
57
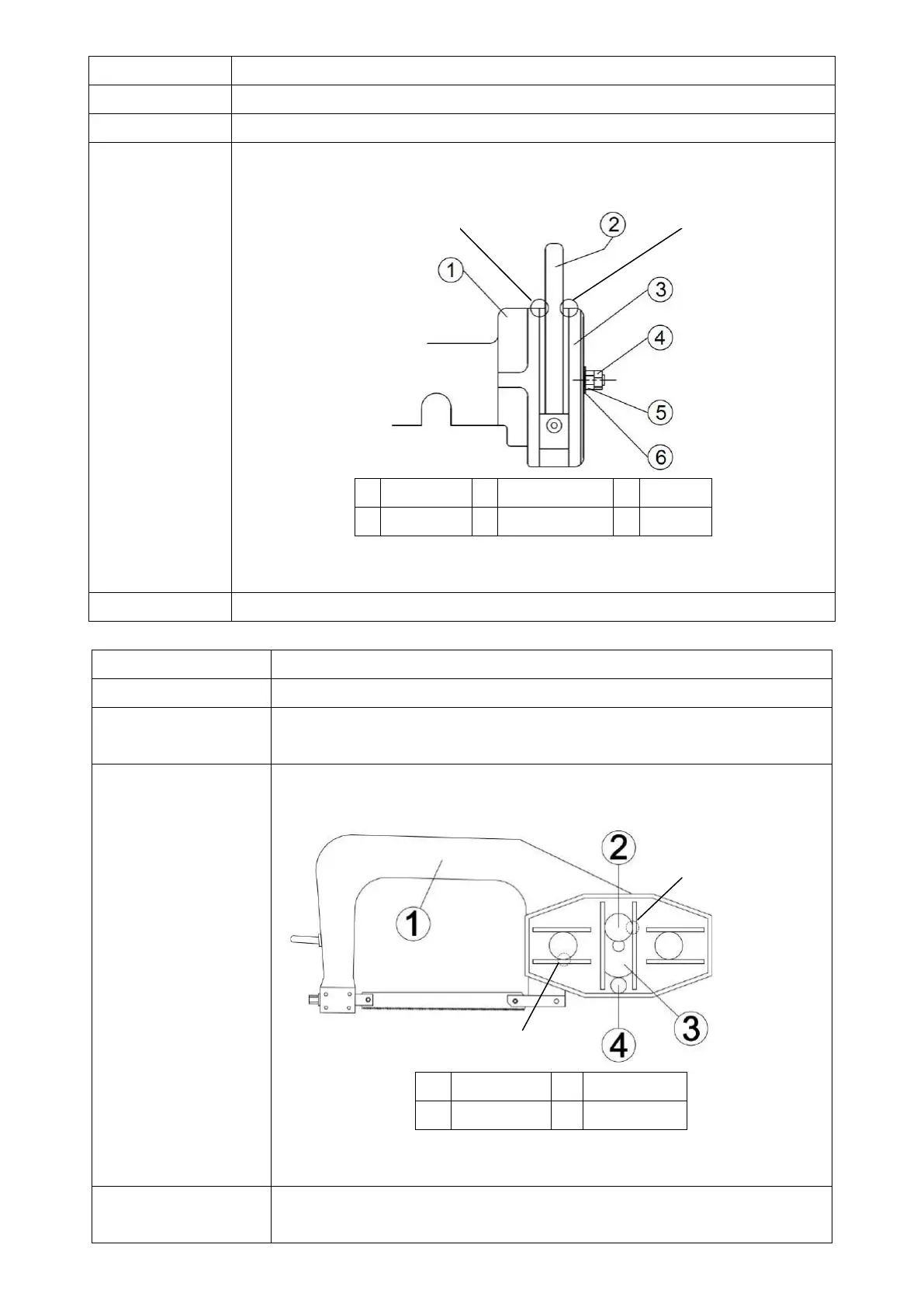
ITEM 2 d
Malfunction
Noise in Chin Head
Cause
d. Excessive gaps between saw frame and slider, or saw frame and chin head
Trouble shooting
d. Use a #23 fixed wrench and a #23 hex wrench to micro-adjust the gap, around
0.03mm, as the illustration below:
1
Chin Head
2
Saw Frame
3
Slider
4
Fixing Nut
5
Adjusting Nut
6
Washer
Release
4
, then release
5
, micro-adjust to 0.03mm, then use
4
to fix
5
mutually
Remark
d. Repaired by qualified technician according to manual instruction
ITEM 2 e
Malfunction
Noise in Chin Head
Cause
e. Excessive gap between sliding trough and big gear roller due to wear and
tear
Trouble shooting
e. Dismantle the parts to replace the torn one, use a mechanical lift to
avoid danger of falling off, as following illustration:
1
Saw Frame
2
Roller
3
Big Gear
4
Small Gear
The gap between roller and sliding trough
2
must be checked
periodically, a proper space should be around 0.15, or, must be adjusted
Remark
e. Repaired by qualified technician or contact local dealer/producer for
prompt service
Gap around 0.03mm
Gap around 0.03mm
Gap of Sliding Trough
Gap of Sliding Trough

Table of Contents

Related product manuals