EasyManua.ls Logo

GFA TS981 - X7; X17 - Radio Receiver; Pull Switch

GFA TS981
56 pages
Print Icon
To Next Page IconTo Next Page
To Next Page IconTo Next Page
To Previous Page IconTo Previous Page
To Previous Page IconTo Previous Page
Loading...
18
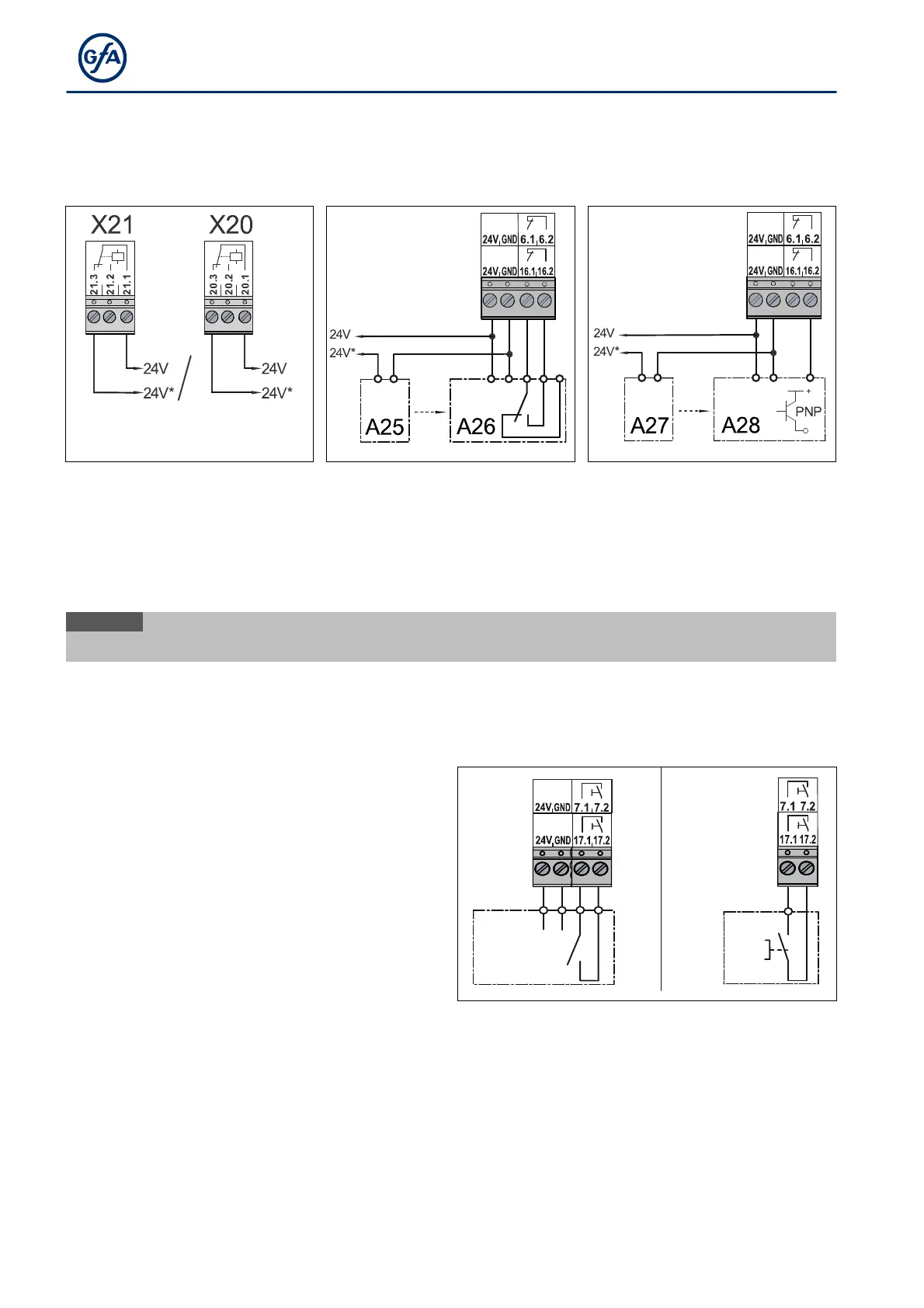
Light curtain only with relay or semiconductor output
The light curtain must be self-testing and correspond at least to safety category 2 or performance level c (plc).
If the light curtain corresponds to these requirements, the door can close into self-hold without safety edge
system. For an operation without safety edge connect a resistor 8k2 via the terminals X2/3 and X2/4.
X6 /
X16
1 2
24V
1
2 3 4 5
24V
X6 /
X16
1 2
24V
1 2 3
24V
X20: Function relay
X21: Function relay
(Test light curtain)
Light curtain
A25: Transmitter
A26: Receiver
Light curtain
A27: Transmitter
A28: Receiver
To test the light curtain, activate relay contact X20 or X21. See programming point P 2.7 / 2.8. A testing is
carried out with every CLOSE-command. Thereby the contact of the light curtainmust switch off within 100 ms.
If the test is positive, the contact must switch back on within 300 ms. If the test is negative, the fault indication
F4.7 is displayed.
i
NOTE
If the light beam is interrupted, fault indication
F4.6
appears.
X7 / X17 - Radio receiver / pull switch
You can connect a pull switch or radio receiver to
terminals X7.1/X7.2 and X17.1/X17.2. The switching
contact must be potential-free.
Install the product according to the manufacturer‘s
instructions.
Activate the product after completion of the
electrical installation with menu item 2.6.
X7 /
X17
X7 /
X17
1 2 3 4
24V
A13
A14
S19
4
A14
S19
4
3
Radio receiver Pull switch

Table of Contents

Related product manuals