EasyManua.ls Logo

Hofmann EasyBalancer EB 3500 - 7.3 Procedure for eliminating faults

Hofmann EasyBalancer EB 3500
88 pages
Print Icon
To Next Page IconTo Next Page
To Next Page IconTo Next Page
To Previous Page IconTo Previous Page
To Previous Page IconTo Previous Page
Loading...
EasyBalancer EB 3500 Maintenance - Procedure for eliminating faults
7 - 3
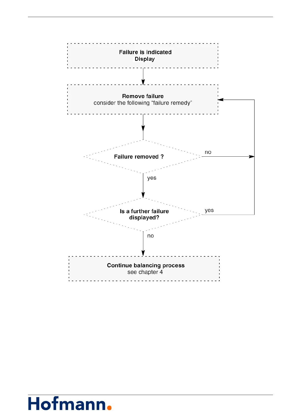
7.3 Procedure for eliminating faults
Fig. 7-11: Procedure for eliminating faults

Table of Contents

Related product manuals