EasyManua.ls Logo

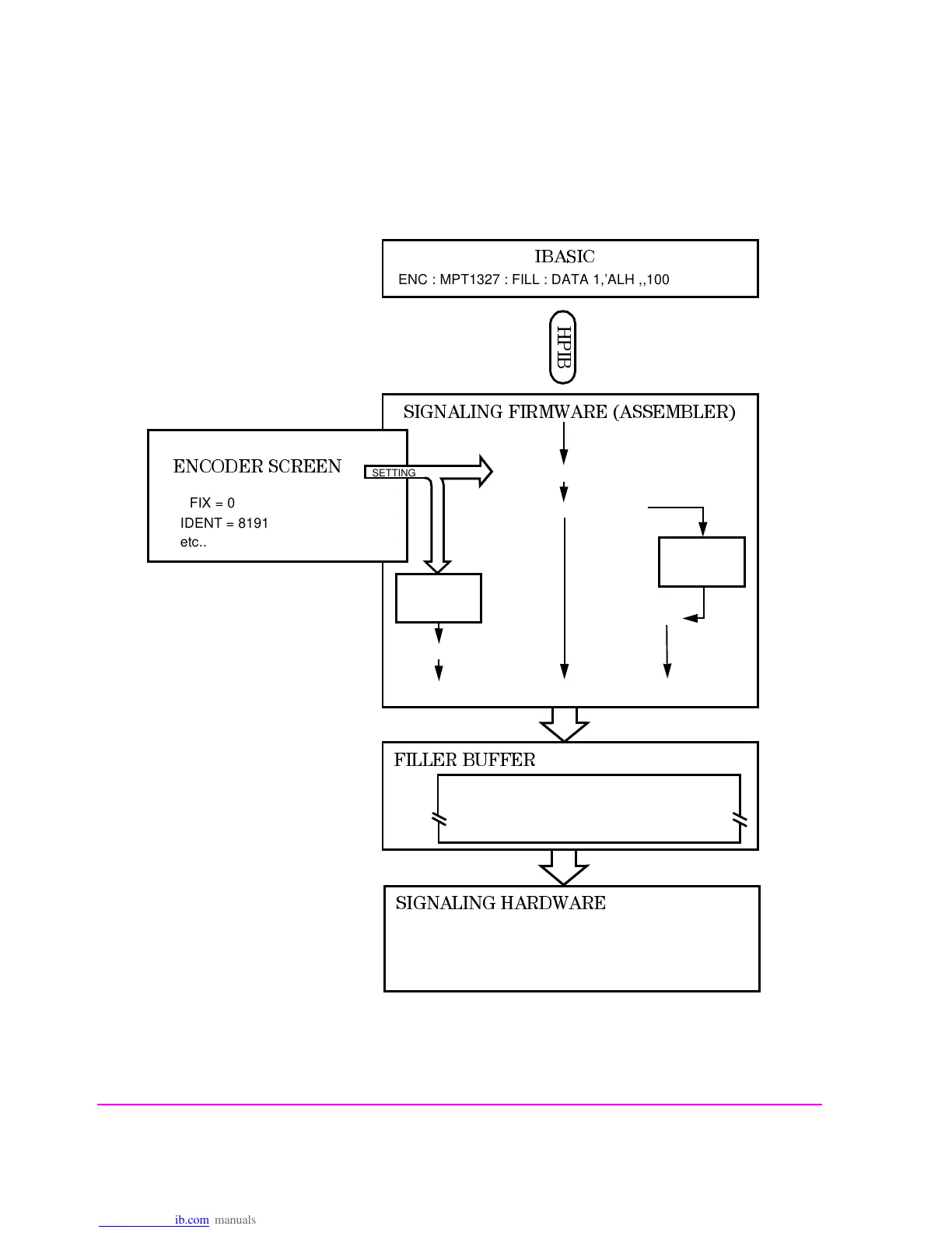
HP 8921A - Sequence of Events in Assembling a Signaling Message

HP 8921A
601 pages
Print Icon
To Next Page IconTo Next Page
To Next Page IconTo Next Page
To Previous Page IconTo Previous Page
To Previous Page IconTo Previous Page
Loading...
356
Chapter 10, Signaling Encoder (AF Generator 2)
MPT 1327 Encoder
Figure 72 Sequence of Events in Assembling a Signaling Message
)"!3)#
3)'.!,).'&)2-7!2%!33%-",%2
(
0
)
"
ENC : MPT1327 : FILL : DATA 1,’ALH ,,100 , 0 , 0 , 1 ‘
ALH 0,8191 , 100 , 0 , 0 , 1
80FFFC02E001
PARITY
CCSC
D9I9
4567F697AAAAC4D7
4567F697AAAAC4D780FFFC02E001D919
&),,%2"5&&%2
3)'.!,).'(!2$7!2%
4567F697AAAAC4D780FFFC02E001D919
1:
2:
32:
%.#/$%23#2%% .
PFIX = 0
IDENT = 8191
etc..
SETTING & DEFAULTS

Table of Contents

Other manuals for HP 8921A

Related product manuals