EasyManua.ls Logo

Ikegami BS-98 - Front View with the Front Cover off

Ikegami BS-98
118 pages
Print Icon
To Next Page IconTo Next Page
To Next Page IconTo Next Page
To Previous Page IconTo Previous Page
To Previous Page IconTo Previous Page
Loading...
16
BS-98 1409 VER1 (U) (E)
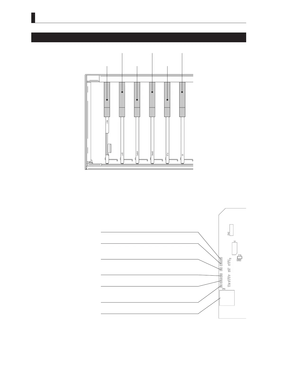
2.1 BS-98 Front View
BS-98 Front View With the Front Cover Off
②OPTmodule ④SPRCmodule ⑥IOmodule
①RETmodule
③HPRC
module
⑤PLSmodule
Note:
SPRC module is optional.
When the SPRC module is not mounted, "OUT-3" output of the VOUT module on the rear side and "PM OUT" SD-SDI signal cannot
be selected.
At the same time, "ENC OUT" (analog VBS signal) is not output.
RET module
The detection status of the RETURN signal and the mode are indicated.
LightupwhentheinputsignalofRETURNchannel#1
hasbeendetected.
IN1
LightsupwhenIthassettheActiveloopthrough.THRU
LightupwhentheinputsignalofRETURNchannel#2
hasbeendetected.
IN2
LightupwhentheinputsignalofRETURNchannel#3
hasbeendetected.
IN3
LightsupwhenIthassettheActiveloopthrough.THRU
LightupwhentheinputsignalofRETURNchannel#4
hasbeendetected.
IN4
USBconnectorformaintenanceandservice.
Note:
The active loop through output executes the through output only when the equipment power is on.

Table of Contents