EasyManua.ls Logo

Iseki SBC550X - Hourmeter; Headlight Switch (UE TYPE); Position Switch (UGE TYPE); Hazard Switch (UGE TYPE)

Iseki SBC550X
94 pages
Print Icon
To Next Page IconTo Next Page
To Next Page IconTo Next Page
To Previous Page IconTo Previous Page
To Previous Page IconTo Previous Page
Loading...
SXG
36
1.5. HOURMETER
The hourmeter counts operation hours of the lawn
mower and shows them.
The lowest figure indicates one tenth hour of
operation.
1.6. Headlight switch (UE TYPE)
l
: The light in front grill light up while the
headlight switch is ON.
1.7. Position switch (UGE TYPE)
: The light in combination lamp (option) light
up while the position switch is ON.
1.8. Combination switch (UGE TYPE)
This is a combination switch, which incorporates
the headlight switch, turning signal switch and horn
button.
Headlight
Turning signal
Horn
1.9. Hazard switch (UGE TYPE)
Ó
: The lamp and turning signal lamps blinks
while hazard switch is ON.
1.10. Parking lamp (UGE TYPE)
: The lamp light up with key switch ON while
parking lever is pulled upward to lock brakes.
Important:
Always disengage brake lever and confirn that the
lamp is OFF before driving the lawn mower to prevent
abnormal brake wear.
1.11. High beam signal lamp (UGE TYPE)
l
: The lamp light up while high beam light of
combination switches is ON.
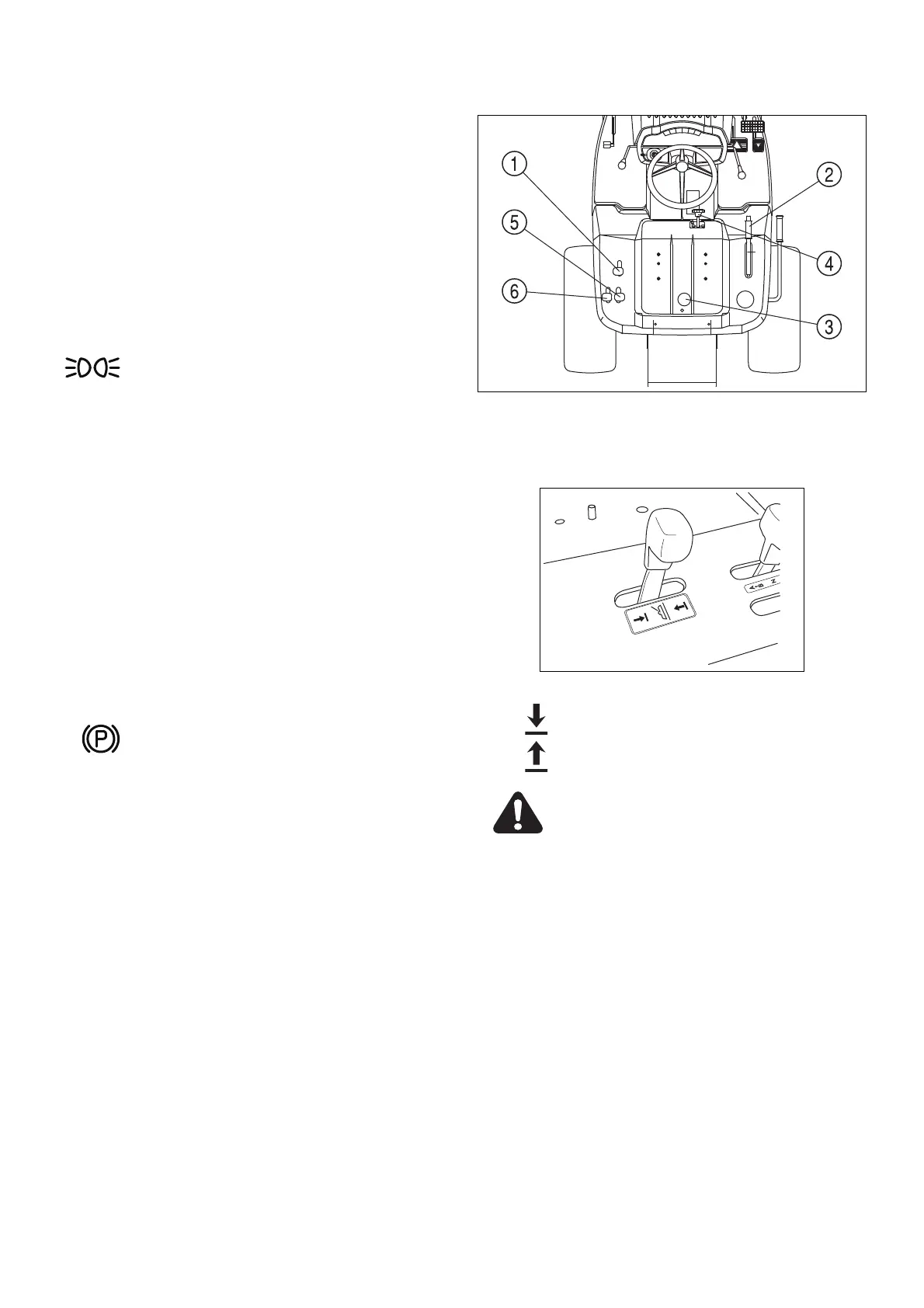
2. FENDER (WING) PANEL
(1) Lift lever (4) Height adjust dial
(2)
Parking brake lever (UGE)
(5) Collector Lift lever
(3) Fuel gauge (6) Collector Dump lever
2.1. LIFT LEVER
With this lever the lift link is raised and lowered:
in this position, the lift link is lowered
in this position, the lift link is raised.
Caution:
When servicing or leaving the lawn mower, be sure to
lower the mower deck to the ground.
2.2. PARKING BRAKE LEVER (UGE)
Use this lever when parking the lawn mower. Pull up
the lever, and the parking brakes are applied. Push
in the top button and lower the lever to disengage the
brakes.
Important:
Never start travelling with the parking brake applied,
or the brake performance will deteriorate soon or,
even worse, the brake system could break down.
The parking lamp light up with key switch ON while
parking lever is pulled upward.
Relieve the parking lever before starting the lawn
mower and confirm the parking lamp is OFF.

Table of Contents

Related product manuals