EasyManua.ls Logo

Iseki SBC550X - Detaching the Mower Deck

Iseki SBC550X
94 pages
Print Icon
To Next Page IconTo Next Page
To Next Page IconTo Next Page
To Previous Page IconTo Previous Page
To Previous Page IconTo Previous Page
Loading...
II. ATTACHING AND DETACHING MOWER DECK
71
d. Depress the lower chute(2) and keep it down with ring
clip(4).
e. Place the mower deck underneath the lawn mower.
f. Insert the discharge cover of mower deck into chute of
lawn mower.
g. Move the lift lever(1) forward and depress rear link(5).
h. Install the rear link(5) into mower deck with pin.
i. Install drive shaft(6) into lawn mower.
Attach the PTO cover, (10) on the lawn mower.
Attach the Joint cover, (11) and Yoke cover, (12).
J. Install the front link(7) into lawn mower and mower
deck.
k. Replace the Lower chute(2) by release the hock of
Ring clip(4).
l. Start the engine and move the lift lever backward to
raise the mower deck.
m. Set the gauge wheels(3) of the mower deck straightly.
n. Return the lower chute (2) by removing the ring clip.
Important:
When installing and removing the mower deck, turn
clockwise(-) the hight adjust dial(9) fully to lower the
mower deck.
After installing the mower deck, be sure that the
ground clearance of the bottom surface of the mower
deck is 150mm. SXG22 : 150mm, SXG19 : 140mm
When the mower deck is leaning to forward or
backward, adjust length of tht front link(7).
In case of leaning to forward:
Make length of tht front link(7) shorter
In case of leaning to backward :
Make length of tht front link(7) longer
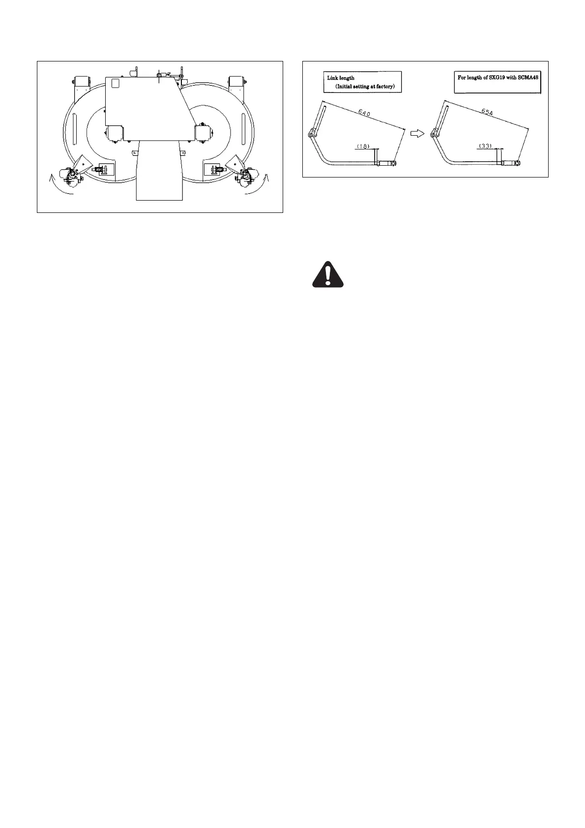
When SCMA48 is shipped, Front link(7) of SCMA48 is
adjusted for SXG22.
Incase installing SCMA48 to SXG19: Readjust the
length of Frontlink(7) as the following size.
2. DETACHING THE MOWER DECK
Detach the mower deck in reverse order of attaching:
Remove the drive shaft first and then the mower deck.
Caution:
Be sure to disconnect the universal joint on the PTO
shaft of the lawn mower.
Important:
Be sure to keep the removed parts.

Table of Contents

Related product manuals