EasyManua.ls Logo

Iseki SBC550X - Page 83

Iseki SBC550X
94 pages
Print Icon
To Next Page IconTo Next Page
To Next Page IconTo Next Page
To Previous Page IconTo Previous Page
To Previous Page IconTo Previous Page
Loading...
SBC550XH & SBC550XL
86
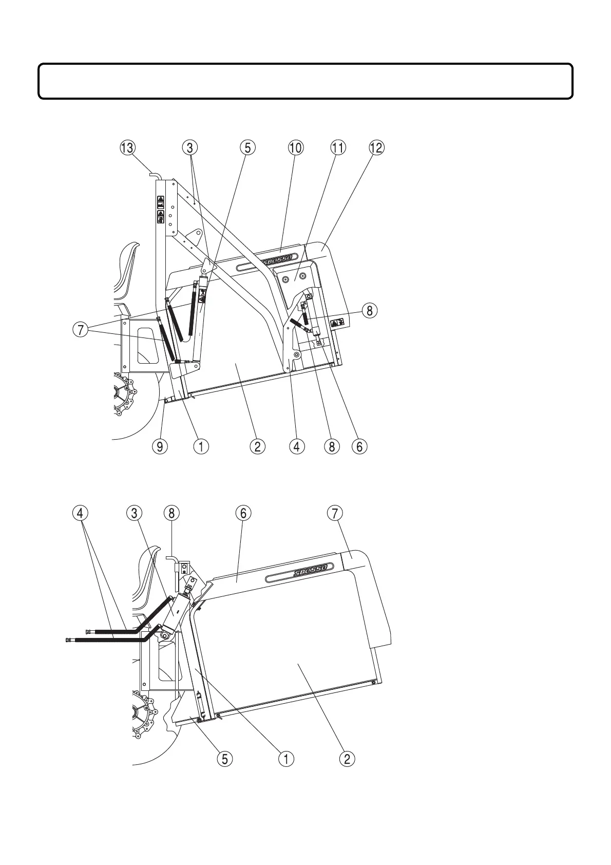
I. NAMES OF MAJOR COMPORNENTS
1. SBC550X-HE4 (High dump collector)
(1) Collector frame
(2) Container
(3) Lift link
(4) Dump link
(5) Lift cylinder
(6) Dump cylinder
(7) Lift hose
(8) Dump hose
(9) Container limit sensor
(10) Container cover
(11) Side cover
(12) Rear cover
(13) Cleaning stick
2. SBC550X-LE4 (Low dump collector)
(1) Collector frame
(2) Container
(3) Dump cylinder
(4) Dump hose
(5) Container limit sensor
(6) Container cover
(7) Rear cover
(8) Cleaning stick

Table of Contents

Related product manuals