EasyManua.ls Logo

Ithaca Epic 950 - Ticket Stack Orientation; Figure 7. Ticket Stack Orientation

Ithaca Epic 950
158 pages
Print Icon
To Next Page IconTo Next Page
To Next Page IconTo Next Page
To Previous Page IconTo Previous Page
To Previous Page IconTo Previous Page
Loading...
Epic 950 Specifications and Requirements Epic 950 OEM Integration Manual
Page 18 Rev G 95-05245
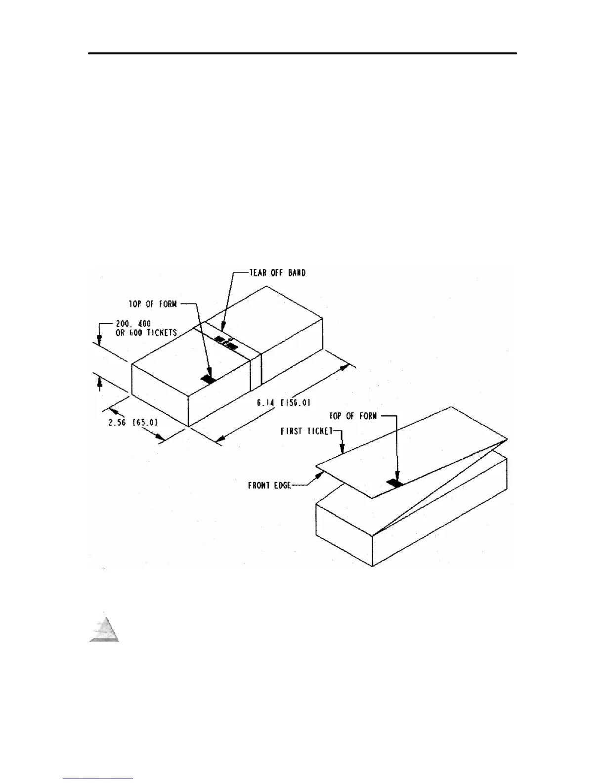
Ticket Stack Orientation
To ensure the ticket is loaded correctly into the printer, the ticket stack must be properly
loaded in the ticket box. The stack must be oriented so that the Black Dot/Top of Form
mark of the tickets is on the leading edge of the ticket, not near the perforation of the
next ticket. If the top ticket on the stack has the back facing upward, the perforation
attaching the next ticket will be toward the front of the Ticket Tray with the Black Dot/Top
of Form indicator in the rear right corner. If the print area is facing upward, the
perforation attaching the next ticket will be toward the rear of the Ticket Tray. For
instructions on inserting the first ticket into the printer, see the section “Loading Tickets
into Feeding Mechanism”.
Figure 7. Ticket Stack Orientation

Table of Contents

Related product manuals