EasyManua.ls Logo

janitza UMG 503 - Page 50

janitza UMG 503
96 pages
Print Icon
To Next Page IconTo Next Page
To Next Page IconTo Next Page
To Previous Page IconTo Previous Page
To Previous Page IconTo Previous Page
Loading...
Page 50 = Key 1 = Key 2 = Key 3= Maximum or consumption = Minimum or supply.
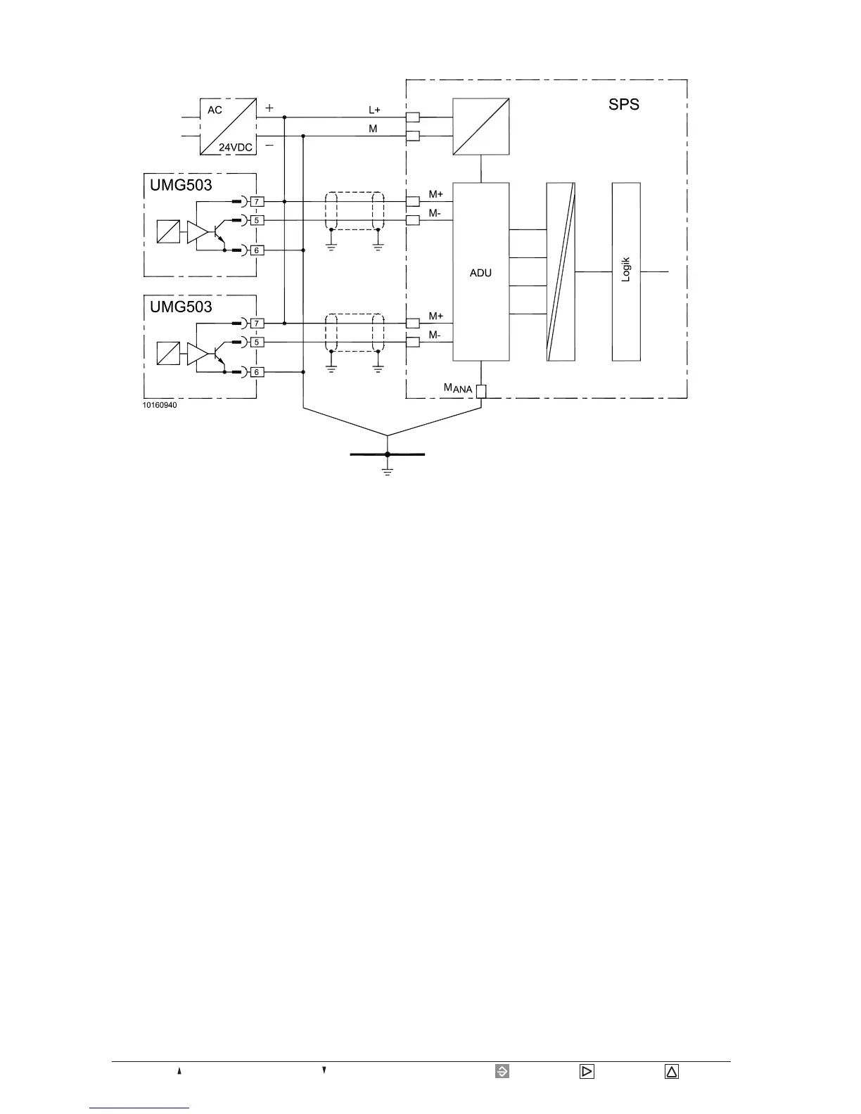
Diagr.: Connection example for 2 UMG503 with analogue outputs to a PLC-analogue input module.
Grounding strip

Table of Contents