EasyManua.ls Logo

Linde H40D - Cleaning the Pressure Control Device at the Changing Particle Filter (Special Equipment)

Linde H40D
310 pages
Print Icon
To Next Page IconTo Next Page
To Next Page IconTo Next Page
To Previous Page IconTo Previous Page
To Previous Page IconTo Previous Page
Loading...
Maintenance 5
Engine
¾ Unscrew the sight glass (1) and wipe out
with a clean cloth.
If necessary, completely dismantle the water
trap and blow out with compressed air.
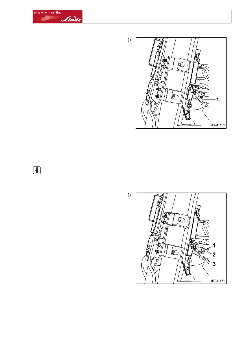
Cleaning the pressure control device
at the changing particle filter (special
equipment)
NOTE
Only for particle filters with a changing particle
filter system.
¾ Removethehoseclip(1).
¾ Remove the hose (2) from the water trap
(3).
¾ Blow dry compressed air through the hose
and cooling coil towards the lter entrance
chamber.
¾ Reattach the hose and secure with the hose
clip.
Operating Instructions 394 807 10 01 EN 07/2011 153

Table of Contents

Related product manuals