EasyManua.ls Logo

Linde H40D - Fuses for Basic and Special Equipment; Main Fuses in Engine Compartment

Linde H40D
310 pages
Print Icon
To Next Page IconTo Next Page
To Next Page IconTo Next Page
To Previous Page IconTo Previous Page
To Previous Page IconTo Previous Page
Loading...
5 Maintenance
Self-help
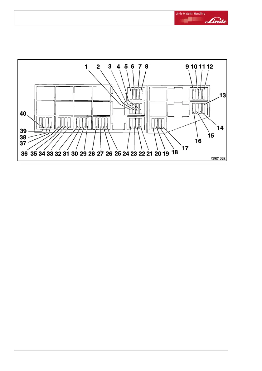
Fuses for basic and special equipment
Checking and changing fuses
1 12 V socket (9F10)*, 15 A
2 Heating/air conditioning (9F9)*, 20 A
3 Seat heater (9F6)*, 20 A
4 Warning light and rotating beacon (4F3)*,
7.5 A
5 Working spotlight positions 3, 4 (5F2)*, 15 A
6 Working spotlight positions 5, 6 (5F3)*, 15 A
(with one 7.5 A headlight fitted)
7 Working spotlight positions 7, 8 (5F4)*, 15 A
(with one 7.5 A headlight fitted)
8 Rear window heating (9F5)*, 20 A
9 Display unit (terminal 30) (F5), 5 A
10 Display unit (terminal 15) (F6), 5 A
11 Signal horn (F7), 15 A
12 Traction–lift control (terminal 15) (F8), 5 A
13 Engine control unit (F12), 5 A
14 Engine control unit (F11), 20 A
15 Not assigned
16 Traction-lift control (terminal 30) (F9), 15 A
17 3rd auxiliary hydraulics (F16)*, 7.5 A
18 Terminal 15 (F15), 10 A
19 Terminal 58 (F14), 5 A
20 Terminal 30 (F13), max. 15 A
21 Blower toothed belt sealing (0F1)*, 10 A or
Time-delayed lighting off (F17)*, 2 A
22 Particle filter (7F3)*, 30 A
23 Particle filter (7F2)*, 20 A
24 Particle filter (7F1)*, 5 A
25 Forklift Data Management (6F1)*, 5 A
26 Reverse travel (4F1)*, 10 A
27 Radio terminal 58 (9F8)*, 10 A
28 Radio terminal 30 (9F7)*, 5 A
29 Washer pumps (9F4)*, 10 A
30 Windscreen wiper rear and roof (9F3)*, 10 A
31 Front windscreen wiper (9F2)*, 10 A
32 Windscreen wiper (9F1)*, 5 A
33 Interior light (5F12)*, 5 A
34 Brake light (5F7)*, 5 A
35 Warning lights (5F6/5F13)*, 10 A
36 Lighting/working spotlight positions 1, 2
(5F5/5F1)*,15 A
37 Right sidelights (5F11)*, 5 A
38 Left sidelights (5F10)*, 5 A
39 Right headlight (5F9)*, 7.5 A
40 Left headlight (5F8)*, 7.5 A
* Special equipment
Main fuses in engine compartment
Checking and changing fuses
¾ Open the bonnet.
192 Operating Instructions 394 807 10 01 EN 07/2011

Table of Contents

Related product manuals