EasyManua.ls Logo

Lucent Technologies DDM-2000 OC-12 - Page 1456

Lucent Technologies DDM-2000 OC-12
1676 pages
Print Icon
To Next Page IconTo Next Page
To Next Page IconTo Next Page
To Previous Page IconTo Previous Page
To Previous Page IconTo Previous Page
Loading...
363-206-295 DLP-523
7of7Page1997December1,Issue
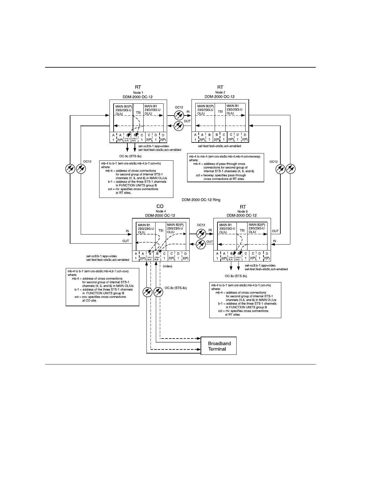
OC-12viaAccessBroadcastVideoforCross-connectionsofExample4.Figure

Table of Contents

Other manuals for Lucent Technologies DDM-2000 OC-12

Related product manuals