EasyManua.ls Logo

MBM CMFE - Page 16

MBM CMFE
Print Icon
To Next Page IconTo Next Page
To Next Page IconTo Next Page
To Previous Page IconTo Previous Page
To Previous Page IconTo Previous Page
Loading...
16
IL PRESENTE MANUALE È DI PROPRIETÀ DEL FABBRICANTE E OGNI RIPRODUZIONE ANCHE PARZIALE È VIETATA.
- 16 -
PARAMETRI DI COTTURA
6.
6.2 SONDA AL CUORE e DELTA T
La sonda rileva la temperatura interna di un prodotto in fase di cot-
tura. Il tempo di cottura non è impostabile o calcolabile mentre si
utilizza la sonda.
Ilciclodicotturadelfornotermina,quandolatemperaturadelpro
-
dotto raggiunge quella impostata per la sonda.
Vi sono tre modi per gestire la temperatura del forno mentre si uti
-
lizza la modalità sonda al cuore:
A - SONDA AL CUORE (SINGLEPOINT, MULTIPOINT, SOTTO
-
VUOTO)
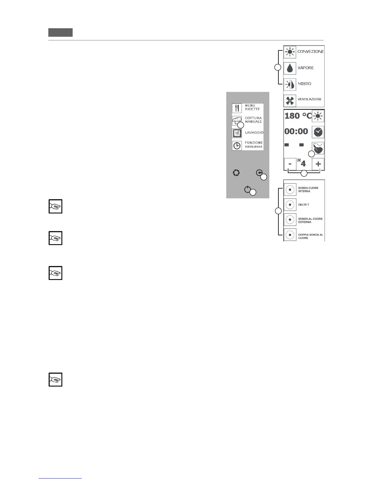
1. Inserire il terminale appuntito della sonda all’interno del prodotto
(posizionatosullategliaall’internodellacameradicottura)afnché
la punta si trovi all’incirca al centro del prodotto.
2. Chiudere la porta del forno, premere l’icona “GO!” e premere
l’icona“COTTURAMANUALE”(Fig2/D).
Selezionareunamodalitàdicottura(Fig.2/E).
3.Premerel’icona“SONDAALCUORE”(Fig2/F)el’icona“SONDA
ALCUOREINToEST”(Fig2/H).Premerel’icona“SONDAALCUO
-
RE”(Fig2/F)econleicone“MENO”ePIÙ”(Fig2/G)impostarela
temperatura della sonda al cuore. Premere l’icona “SONDA AL CUO
-
RE”(Fig2/F)perconfermare.
È possibile impostare la temperatura sonda al cuore
no a 99° C
Premeretasto“INVIO”(Fig2/C)peravviarelacottura.
Funzione “PAUSA”: premere il tasto “INVIO” (Fig 1/C)
per interrompere la funzione in corso e premere di nuo
-
vo il tasto “INVIO” (Fig 1/C) per riprendere la cottura
Premeretasto“INVIO”(Fig2/C)epremerepiùvolteiltasto“ESC”(Fig2/B)pertornareallaschermatainiziale.
È possibile impostare la funzione sonda al cuore in tutte le modalità di cottura e/o fasi di ricetta
B - DELTA T
Ripetere la procedura sopra descritta per i punti 1 e 2.
3.Premerel’icona“SONDAALCUORE”(Fig2/F)el’icona“DELTAT”(Fig2/H).Premerel’icona“SONDAAL
CUORE”(Fig2/F)econleicone“MENO”ePIÙ”(Fig2/G)impostarelatemperaturadellasonda.Premere
l’icona“SONDAALCUORE”(Fig2/H)econleicone“MENO”e“PIÙ”(Fig2/G)impostarelacostantedifferenza
ditemperaturatracameradicotturaesondaalcuore(compresafra 20° e 120°).
Premerel’icona“SONDAALCUORE”(Fig2/H)perconfermare.
Premeretasto“INVIO”(Fig2/A)peravviarelacottura.
Premeretasto“INVIO”(Fig2/A)perarrestarelafunzioneepremerepiùvolteiltastoESC”(Fig2/B)pertor
-
nare alla schermata iniziale.
È possibile impostare la funzione sonda al cuore e delta T in tutte le modalità di cottura e/o fasi
di ricetta
F
B
C
Fig.2
G
INTERNA
FASE1/2
50°
DELTA T
60°
D
E
H

Table of Contents

Related product manuals