EasyManua.ls Logo

Milltronics HydroRanger Plus - Display

Milltronics HydroRanger Plus
169 pages
Print Icon
To Next Page IconTo Next Page
To Next Page IconTo Next Page
To Previous Page IconTo Previous Page
To Previous Page IconTo Previous Page
Loading...
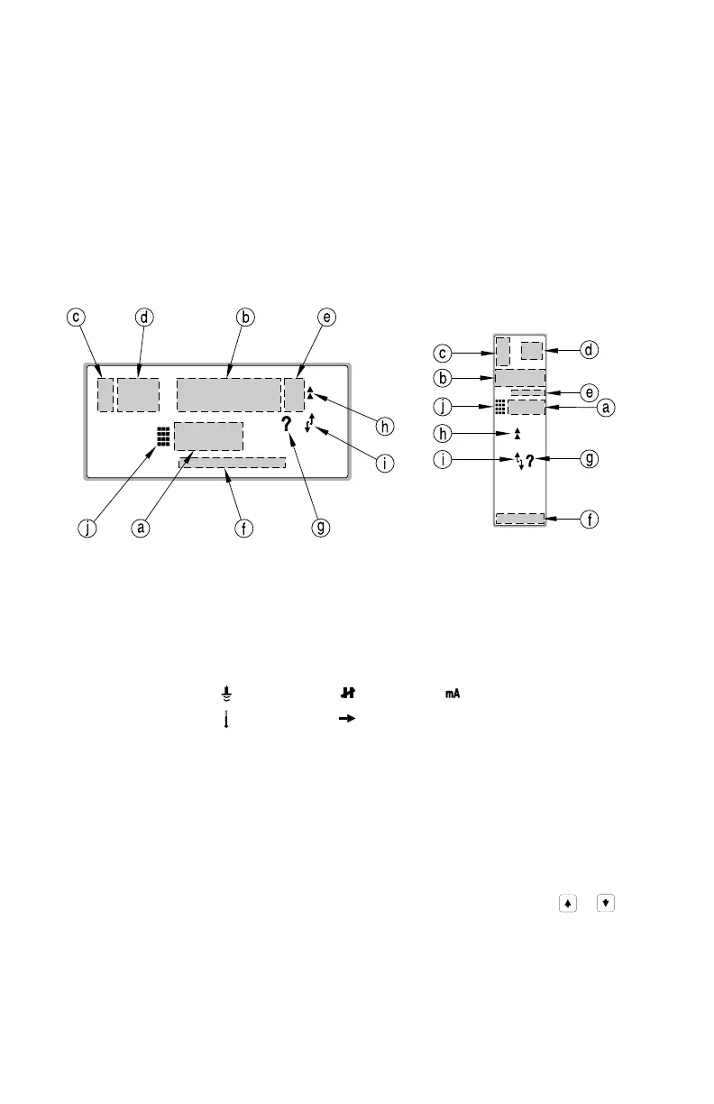
DISPLAY
In the program mode, the Parameter Number, Parameter Value (and Point Number if
applicable) may be viewed (as well as numerous other programming indicators).
Note that some indicators are specific to certain programming conditions and
therefore,
all indicators are not displayed at any given time.
e.g. The Transducer Point Number is only displayed when Differential or Average
level monitoring is selected, (requiring programming for 2 transducers).
wall mount rack or panel mount
a) Parameter Number (programmable feature accessed).
b) Parameter Value (setting for the Parameter Number displayed).
c) Point Type: transducer relay analog output
temperature index
d) Point Number (of the Point Type accessed).
e) Units (the Parameter Value is displayed in: m, cm, mm, ft, in, or %).
f) Relay Number (programmed for RUN mode operation).
g) Invalid Entry (the Parameter Value is questionable, are you sure?).
h) Auxiliary Function (of the Parameter Number is accessed).
i) Scroll Access Tag (the Parameter Number may be scroll accessed, or ).
j) Program Mode On (is accessed, operation has ceased).
Wall Mount: Program Mode accessed.
Rack or Panel Mount: Programmer interface enabled / Program Mode accessed.
PL-507 28

Table of Contents

Related product manuals