EasyManua.ls Logo

Milltronics HydroRanger Plus - Display

Milltronics HydroRanger Plus
169 pages
Print Icon
To Next Page IconTo Next Page
To Next Page IconTo Next Page
To Previous Page IconTo Previous Page
To Previous Page IconTo Previous Page
Loading...
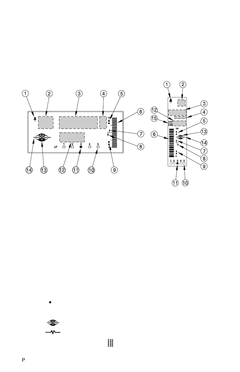
DISPLAY
In the RUN mode, the following values and indicators may be observed.
Note that many indicators are specific to certain operating conditions and
therefore,
all indicators are not displayed at any given time.
wall mount rack or panel mount
1. the current display pertains to a Transducer measurement.
2. Transducer Number 1, 2, or Result 3 (DPD or DPA operation only).
3. Reading resulting from Operation selected, (error message).
4. the Reading is in m, cm, mm, ft, in or %.
5. = HI alarm, = HI HI alarm.
6. Bar graph representation of level from 0 to 100% (absolute).
7. monitored surface is rising (nearer transducer).
8. monitored surface is falling (farther from transducer).
9. = LO alarm, = LO LO alarm.
10. = Relay # programmed.
11. = pump, control, or alarm on.
12. Auxiliary Reading (see Keypad for selection).
13. = Normal operation.
14. = Failsafe operation.
15. programmer interface enable (rack or panel mount only)
¡
¡
l
PL-507 34

Table of Contents

Related product manuals