EasyManua.ls Logo

NorthStar EXPLORER 650 - 18-7 Installation: Northstar petrol;gasoline sensors; 18-8 Installation: DSC VHF radio

Default Icon
87 pages
Print Icon
To Next Page IconTo Next Page
To Next Page IconTo Next Page
To Previous Page IconTo Previous Page
To Previous Page IconTo Previous Page
Loading...
Northstar Explorer 650 Installation and Operation Manual76
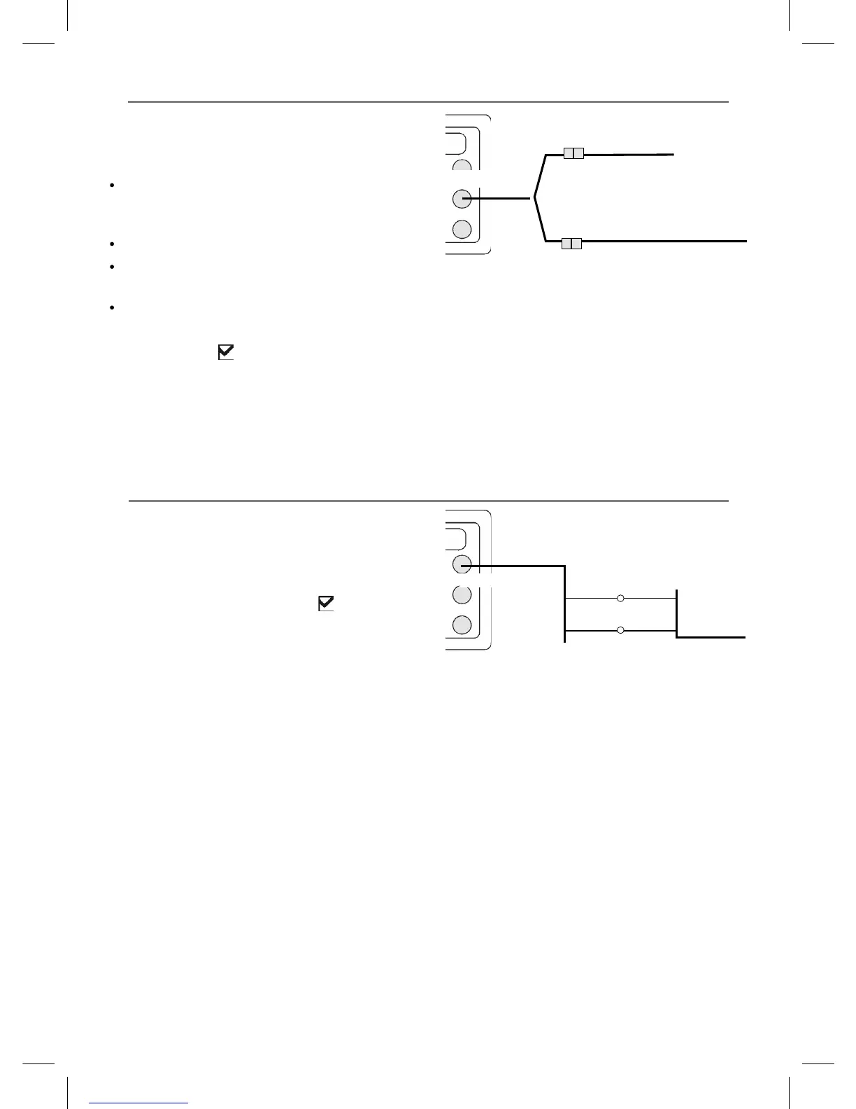
18-7 Installation: Northstar petrol/gasoline sensors
Fit the optional petrol/gasoline fuel kit following
the instructions supplied with the kit.
Note:
SmartCraft engines have fuel flow sensors,
therefore Northstar fuel sensors are not
required as well.
For dual engines, fit two kits.
Wire the Explorer for auto power (see section
18-4).
An optional GPS/fuel Y cable is required.
During setup:
a set Y cable to
and set up Auto power off
(see sections 2-2 and 17-1)
b set the fuel data (see section 17-5)
GPS antenna (optional)
Fuel sensor cable
Yellow
Yellow
GPS/fuel Y cable
White
18-8 Installation: DSC VHF radio
Fit and set up the optional Northstar DSC VHF
radio following the instructions supplied with the
radio. During setup:
a on the radio, enter buddy boats required
b on the Explorer, set NavBus to
(see section
17-10)
Power/data cable
Orange
Blue
Radio power/data cable
Black

Table of Contents

Other manuals for NorthStar EXPLORER 650

Related product manuals