EasyManua.ls Logo

NTN K-ECF25 - Wiring Diagrams

Default Icon
45 pages
Print Icon
To Previous Page IconTo Previous Page
To Previous Page IconTo Previous Page
Loading...
45
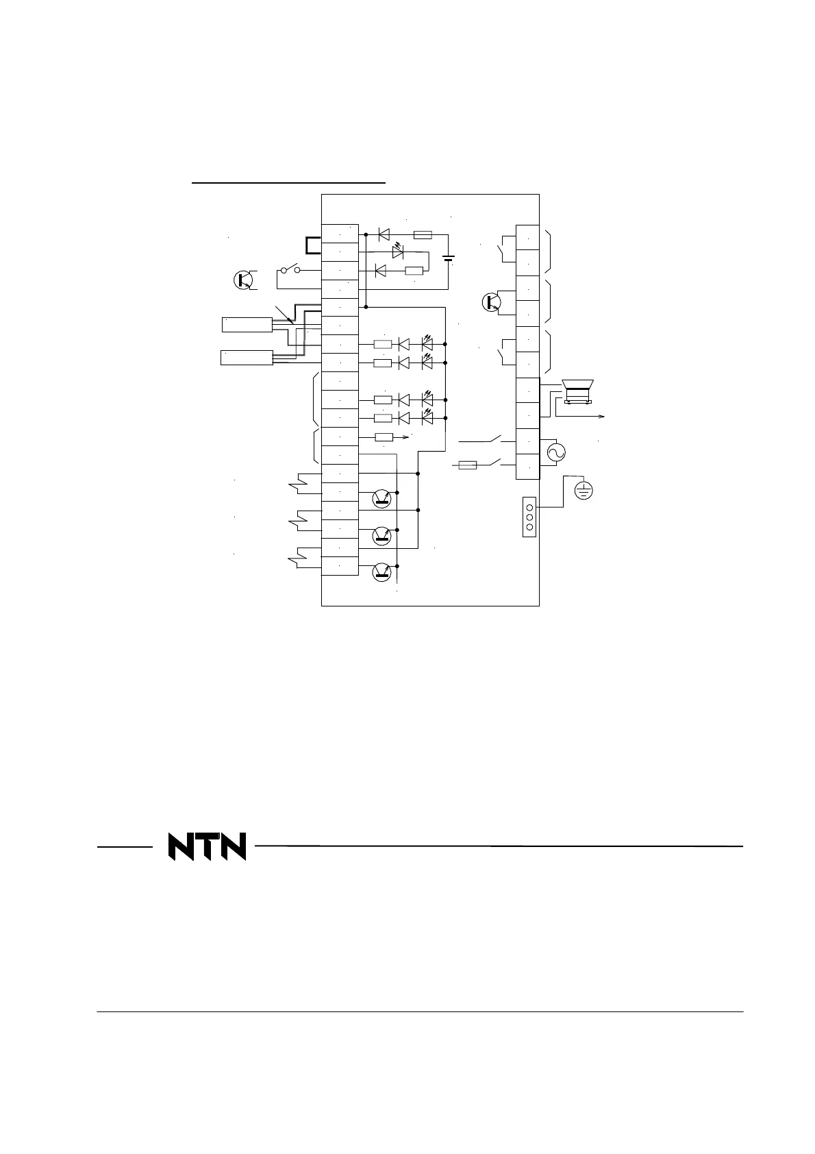
[Reference diagram of wiring]
The following diagram is a simplified diagram with focusing on the input-output terminals connected to the outside.
This manual might be changed without notice for the function improvement etc.
Revised : July 1, 2013
Issued : Aug. 18, 2010
NTN
Technical Service Corporation
Product engineering section Precision equipment dept Iwata Division
1578 Higashi-Kaizuka, Iwata, Shizuoka 438-8510 Japan
PHONE
81-0538-37-8104
FAX
81-0538-37-8128
All rights reserved. ©NTN Technical Service Corporation 2013
1 線工・各調整等に際しては取扱説明を必ず読んでください。間違えると故障・
   可能性があります。
2 モー端子使用しない場合は、接点の代わりにジャンパ線を接続してください。
 24Vと0V端子はそれぞれ内部全て接続されています
4 流制器:力回路に流れる電流も含めた合計値が200mAに近付くと電圧降下を始めます。
緑/
AC100~115V
 /200~230V
 50/60Hz
アー
パーツフィー
N
ECF25/ECH45接続図
L
1
2
外部制御信
ーズ ECF25:3A
ECH45:5A
+V
アースバー
アースバ
※ア線の色は緑
 ま黒の場合も
 あます。
SOL(DC24V)
MAX 200mA
センサ
センサ
度切替え
号入力
ナログ入力
速度指
 MAX 5V
緑/
EM
C2
C1
AL1
Y1C
Y1A
CR1
CR2
異常信号出
警報信号出
運転中信出力
コントローラ内部
24V
X1
0V
A1
B2
B1
IN2
IN1
P0
24V
0V
0V
0V
24V
P1
24V
P2
24V
SOL(DC24V)
SOL(DC24V)
ャンパ
接点orTr
0V
24V
3.3k
3.3k
3.3k
3.3k
3.3k
10k
CPUへ
*3
*2
*3
*4
24V
電源
ーズ
DC24V
ECF25/ECH45 connection diagram
Inside of controller
Driving signal output
Warning signal output
Abnormal signal output
Fuse ECF25: 3A
ECH45: 5A
Jumper wire
Earth bar
Sensor 2
Speed switching
Signal input
A
nalog input
(Speed instruction)
Brown
Blue
Black
Brown
Black
Blue
External control signal
Contact point or Tr
Green
/Yellow
Parts feeder
To earth
*Color of earth wire
is green or black
Earth
Green/Yellow
Sensor 1
Power
Fuse
*1 Read the operation manual in doing wiring construction and other various adjustments.
Error may cause failure and accident.
*2 When you do not use a remote terminal, connect a jumper wire instead of contact.
*3 Terminals 24V and 0V are all connected in the inside.
*4 Current limiter: When total figure including current in input circuit comes close to 200mA, voltage starts to drop.

Table of Contents

Related product manuals