EasyManua.ls Logo

Panasonic AFPX-C30T - Expansion Method

Panasonic AFPX-C30T
544 pages
Print Icon
To Next Page IconTo Next Page
To Next Page IconTo Next Page
To Previous Page IconTo Previous Page
To Previous Page IconTo Previous Page
Loading...
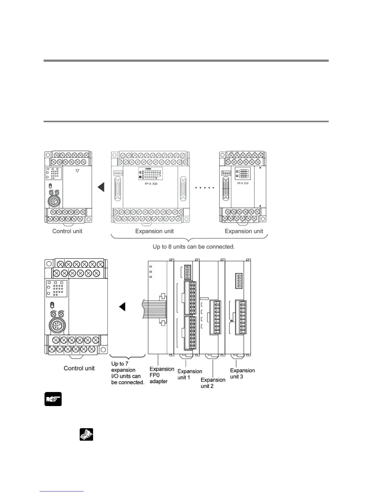
3.1 Expansion Method
Two types of expansion method are available for the FP-X.
1. Installs the FP-X expansion unit or FP0 expansion unit (expansion FP0 adapter) using the
expansion cable.
2. Installs the add-on cassette to the cassette mounting part of the FP-X control unit.
3.1.1 Expansion Using the Expansion Cable
For the FP-X, the FP-X expansion unit and the FP0 expansion unit (expansion FP0 adapter AFPX-EFP0
is necessary) can be used by using the exclusive expansion cable.
Note: Only one expansion FP0 adapter can be installed at the last position of the FP-X expansion
bus. (It should be installed at the right hand side of the AFPX-E16 and E30.)
Up to seven FP-X expansion I/O units can be also installed between the control unit and
the expansion FP0 adapter. However, there are restrictions on E14/E16.
Reference: <1.3.1 Restrictions on FP-X Expansion Unit>
Phone: 800.894.0412 - Fax: 888.723.4773 - Web: www.clrwtr.com - Email: info@clrwtr.com

Table of Contents

Related product manuals