EasyManua.ls Logo

Panasonic CU-8ME1XPK - Page 340

Panasonic CU-8ME1XPK
643 pages
Print Icon
To Next Page IconTo Next Page
To Next Page IconTo Next Page
To Previous Page IconTo Previous Page
To Previous Page IconTo Previous Page
Loading...
PACD011001C2 Test Operation
Test Operation Urban Multi “MX1R, ME1R SeriesUsing R-407C 319
CZ-01·02RW Type
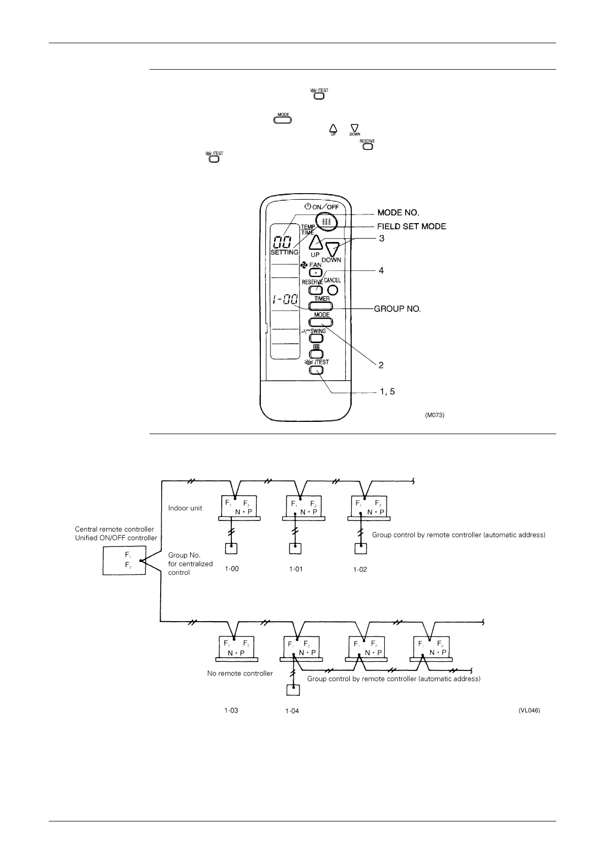
Group No. setting by wireless remote controller for centralized control
1. When in the normal mode, push the button for 4 seconds or more, and operation then enters
the “field set mode.”
2. Set mode No. “00” with the button.
3. Set the group No. for each group with the button (advance/backward).
4. Enter the selected group numbers by pushing the button.
5. Push the button and return to the normal mode.
Group No. Setting
Example
If you have to set the address for each unit for calculating cost, etc., set the mode No. to “30.

Table of Contents

Other manuals for Panasonic CU-8ME1XPK

Related product manuals