EasyManua.ls Logo

Panasonic CU-8ME1XPK - Page 348

Panasonic CU-8ME1XPK
643 pages
Print Icon
To Next Page IconTo Next Page
To Next Page IconTo Next Page
To Previous Page IconTo Previous Page
To Previous Page IconTo Previous Page
Loading...
PACD011001C2 Operation Flowcharts
Troubleshooting Urban Multi “MX1R, ME1R Series” Using R-407C 327
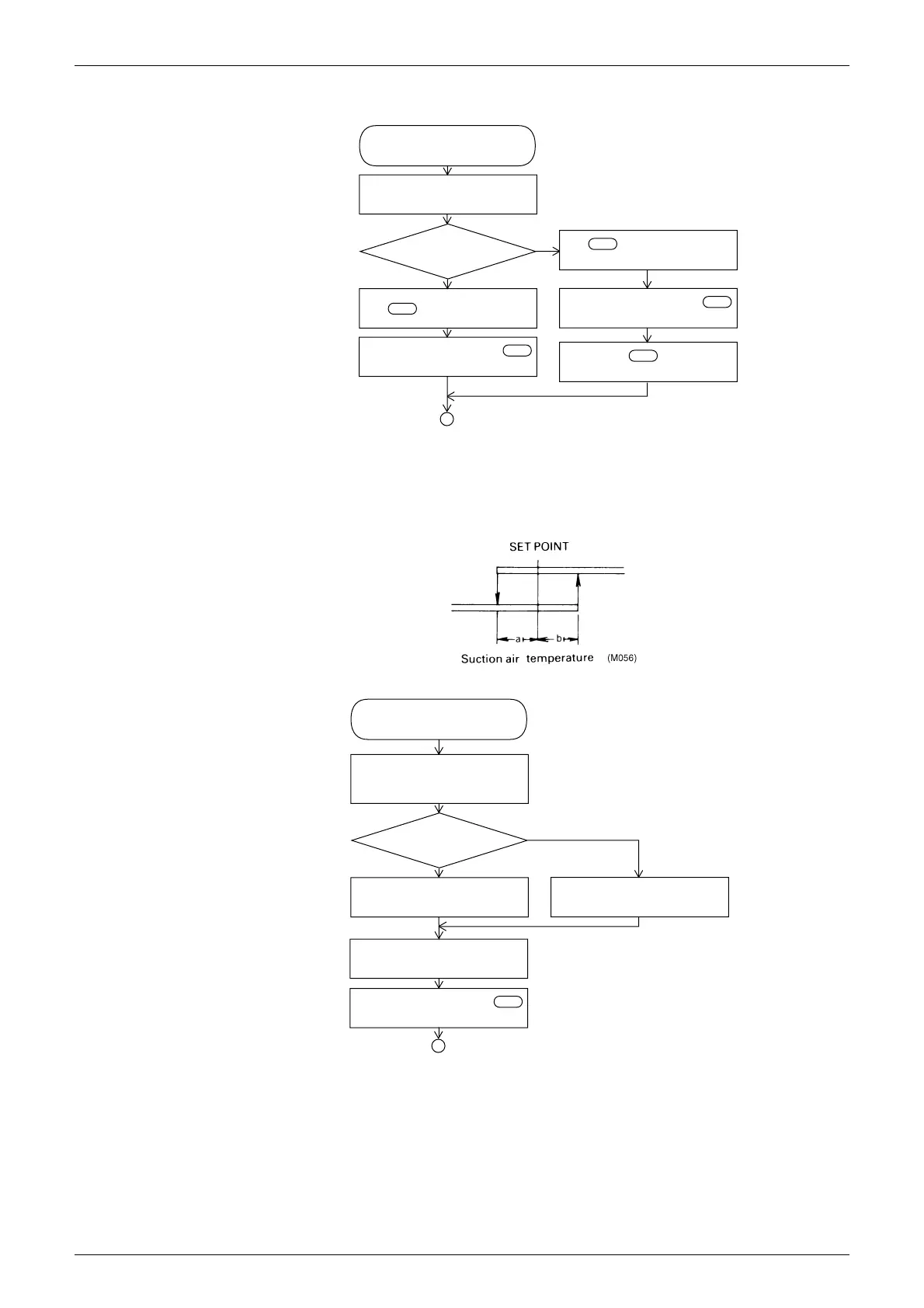
Program dry operation
Program dry display
Thermostat status?
Fan MF : 6 minutes stopped
then L operation
Electronic expansion valve Y1E
closed
Drain-up kit M1P : Off after 5
minutes residual operation
Fan MF : L operation
Electronic expansion valve Y1E
degree of super heat control
A
(Option)
7
8
(M055)
ON
OFF
7 Programmed dry display
Does not display preset temperature and air flow settings of the controller.
8 Thermostat status
Preset temperature during programmed dry operation.
Fan in operation
Swing flap Air flow direction setting
Swing flap?
Fan MF: Operating at set air flow
rate
Electronic expansion valve Y1E
closed
Drain-up kit (M1P): OFF
Auxiliary electric heater (52H): OFF
Humidifier (Hu): OFF
Electric dust collector: ON
A
10
11
9
NO
YES
Option
(M057)
9 Fan operation
When fan operation has been selected using the remote controller, operation is turned OFF by
thermostat when temperature control operation has been selected.
10 Air flow direction setting
If fan operation is selected with the remote controller, air discharge is 100% horizontal during
heating.
11 Fan
If fan operation is selected with the remote controller, LL speed operation is carried out during
heating.

Table of Contents

Other manuals for Panasonic CU-8ME1XPK

Related product manuals