EasyManua.ls Logo

Panasonic SA-PM24EB - Disassembly of USB P.C.B.

Panasonic SA-PM24EB
99 pages
Print Icon
To Next Page IconTo Next Page
To Next Page IconTo Next Page
To Previous Page IconTo Previous Page
To Previous Page IconTo Previous Page
Loading...
30
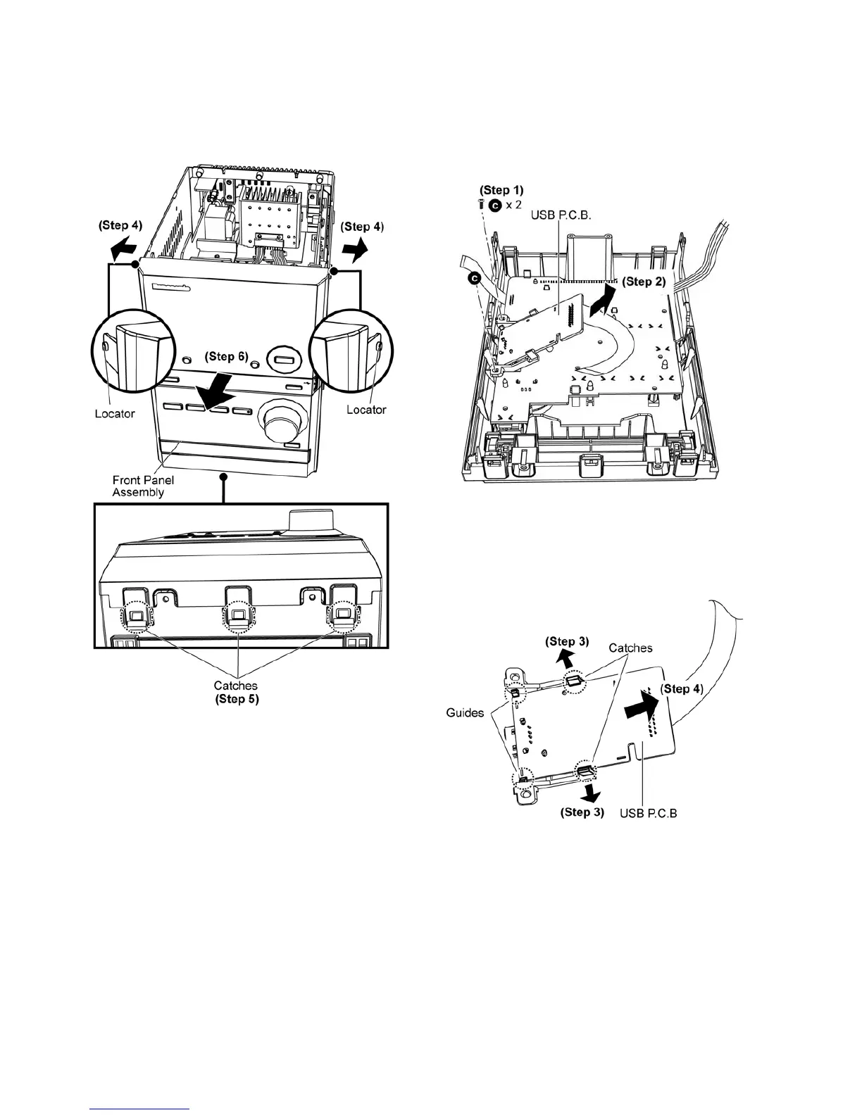
Step 4 : Release both locators.
Step 5 : Release 3 catches from the bottom.
Step 6 : Detach the Front Panel Assembly.
Caution : Do not attempt to exert strong force when
detaching the Front Panel Assembly.
9.6. Disassembly of USB P.C.B.
Refer to “Disassembly of Top Cabinet Assembly”.
Refer to “Disassembly of Front Panel Assembly”.
Step 1 : Remove 2 screws.
Step 2 : Remove USB assembly.
Step 3 : Release both catches as arrows shown.
Step 4 : Detach the USB P.C.B. as arrow shown to release
from both guides.

Table of Contents

Related product manuals