EasyManua.ls Logo

Panasonic SA-PM38DBEB - USB PCB Disassembly

Panasonic SA-PM38DBEB
99 pages
Print Icon
To Next Page IconTo Next Page
To Next Page IconTo Next Page
To Previous Page IconTo Previous Page
To Previous Page IconTo Previous Page
Loading...
32
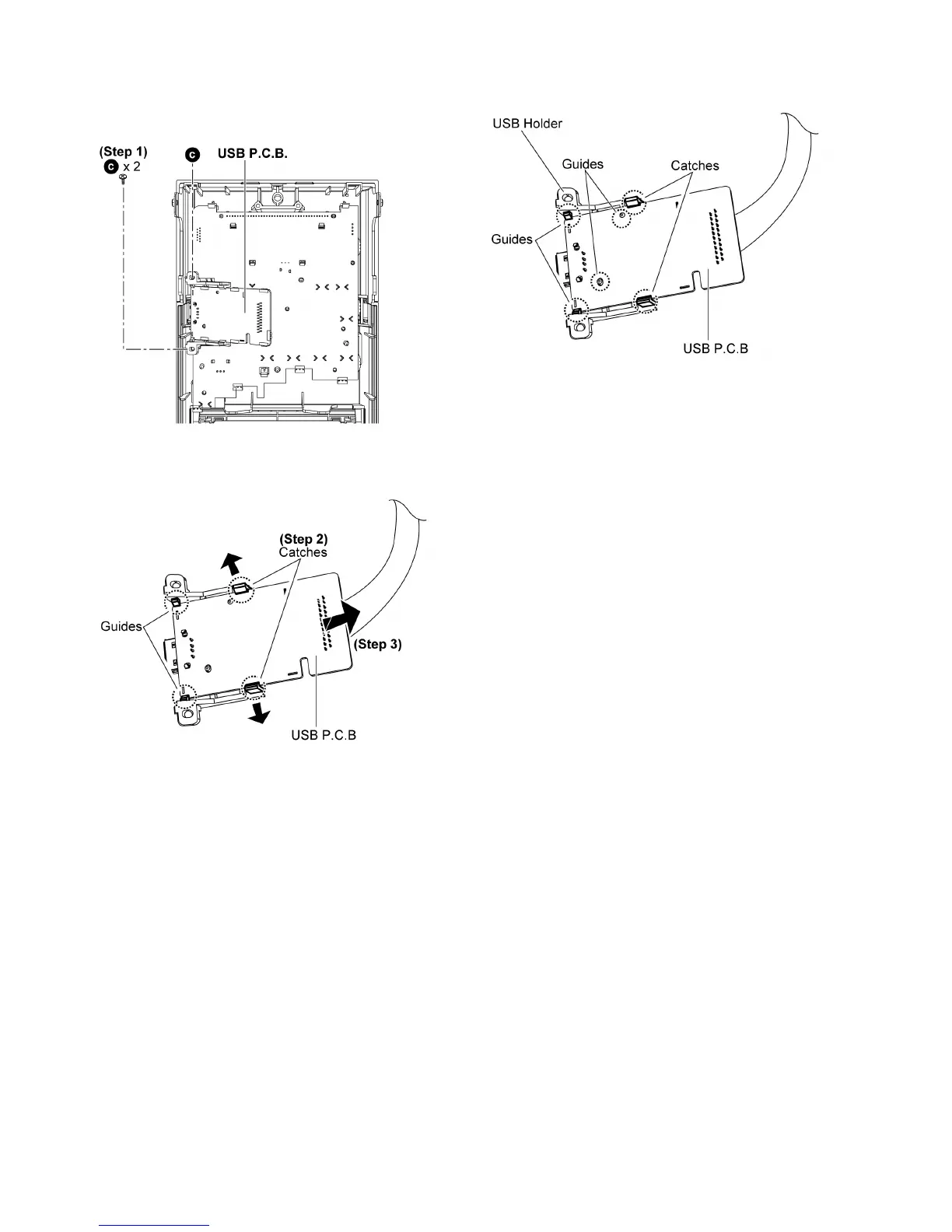
10.8. Disassembly of USB P.C.B.
Follow the (Step 1) - (Step 9) of item 10.3.
Follow the (Step 1) - (Step 6) of item 10.7.
Step 1 : Remove 2 screws.
Step 2 : Release both catches as arrows shown.
Step 3 : Detach the USB P.C.B as arrow shown to release from
both guides.
Caution : Ensure that the USB P.C.B. is firmly catched and
properly seated on the guides during assembly of the USB
P.C .B. .

Table of Contents

Related product manuals