EasyManua.ls Logo

Panasonic SA-PM38DBEB - Fan Unit Disassembly

Panasonic SA-PM38DBEB
99 pages
Print Icon
To Next Page IconTo Next Page
To Next Page IconTo Next Page
To Previous Page IconTo Previous Page
To Previous Page IconTo Previous Page
Loading...
41
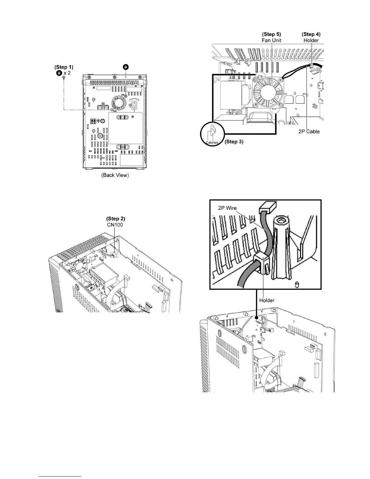
10.17. Disassembly of Fan Unit
Follow the (Step 1) - (Step 9) of item 10.3.
Follow the (Step 1) - (Step 6) of item 10.7.
Follow the (Step 1) - (Step 5) of item 10.14.
Step 1 : Remove 2 screws.
Step 2 : Detach 2P cable at connector (CN100) on Main P.C.B..
Step 3 : Release 2 catches.
Step 4 : Remove 2P cable from the holder.
Step 5 : Remove Fan Unit.
Caution : Ensure the Fan Unit is seated properly onto the
rear panel assembly.
Caution : Ensure the 2P wire is inserted into the Holder.

Table of Contents

Related product manuals