EasyManua.ls Logo

Planmeca Sovereign - Pylon and Arm Accessory Installation; Tray Attachment to Balanced Arm Console

Planmeca Sovereign
184 pages
Print Icon
To Next Page IconTo Next Page
To Next Page IconTo Next Page
To Previous Page IconTo Previous Page
To Previous Page IconTo Previous Page
Loading...
Planmeca Sovereign 83
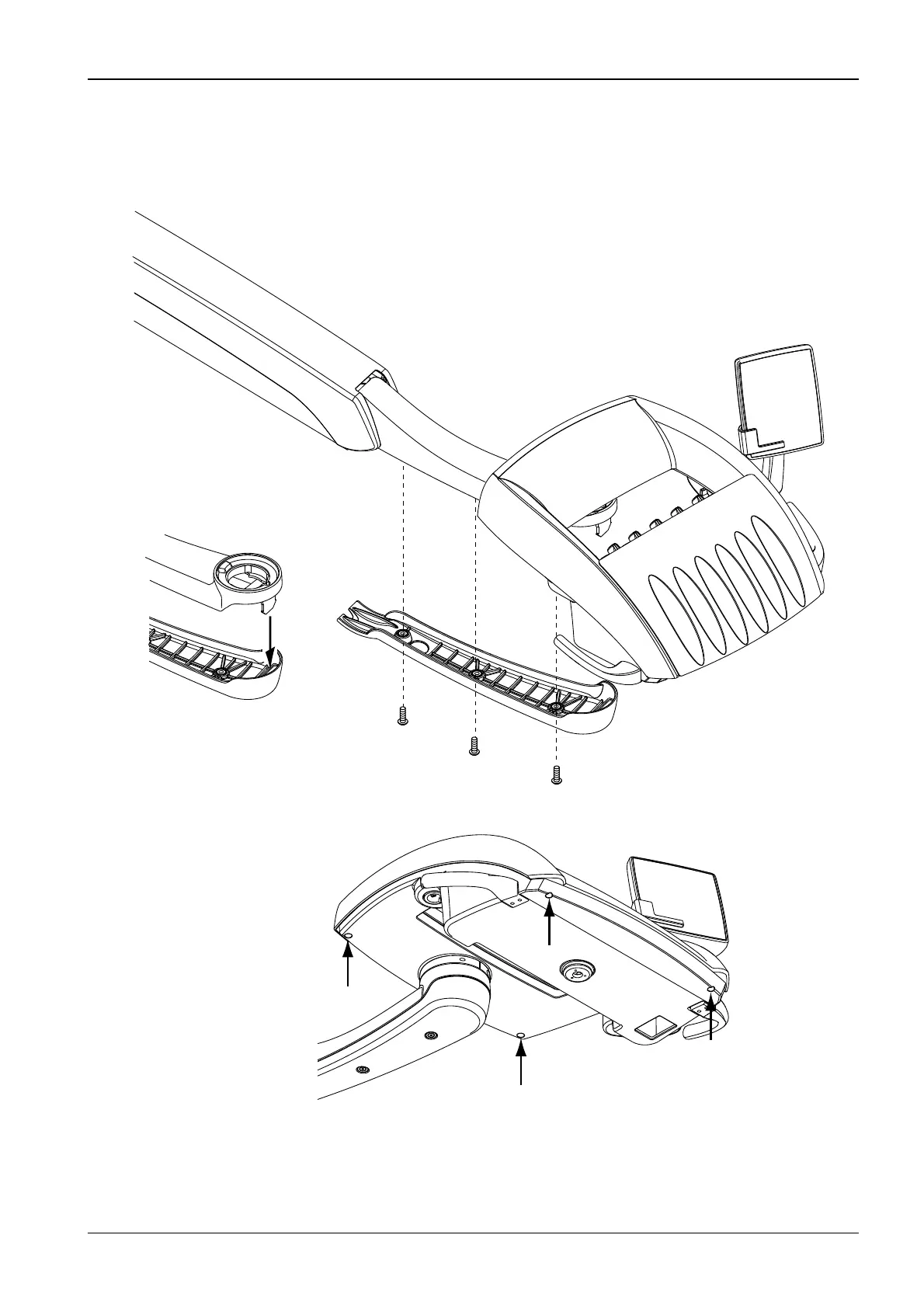
INSTALLING THE PYLON AND ARMS
Installation manual
Balanced arm instrument console covers
Attach the console bracket lower cover as follows. Place the cover to its position so that the
lug on the arm goes into the cover groove. Attach the arm with three screws using a 3 mm
Allen key.
Attach the instrument console upper cover using a 3 mm Allen key.
S26.eps
S27.eps

Table of Contents

Related product manuals