EasyManua.ls Logo

Plockmatic TR5010e - Controller Md6 Dc

Default Icon
80 pages
Print Icon
To Next Page IconTo Next Page
To Next Page IconTo Next Page
To Previous Page IconTo Previous Page
To Previous Page IconTo Previous Page
Loading...
TR-6-8
28 May 2009
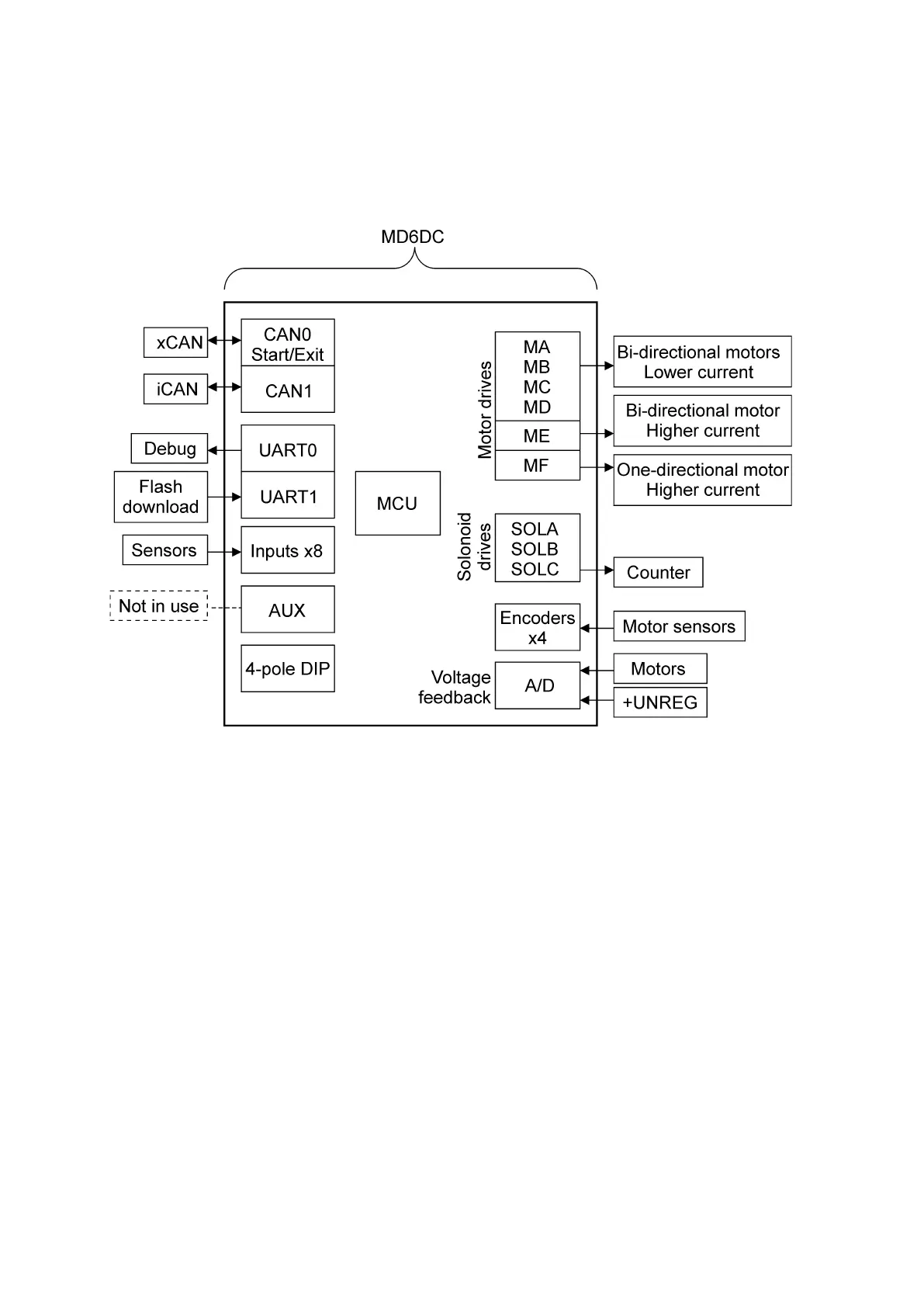
6.2.2 CONTROLLER MD6DC
The motor drives:
MA-MD are for bi-directional motors with lower current
ME is for bi-directional motor with higher current.
MF is for one-directional motor with higher current.
As the TR5010e does not have any solenoids, one of the solenoid drives is used
for the electro-mechanical counter.