EasyManua.ls Logo

POSEIDON Jetstream - Page 38

POSEIDON Jetstream
154 pages
Print Icon
To Next Page IconTo Next Page
To Next Page IconTo Next Page
To Previous Page IconTo Previous Page
To Previous Page IconTo Previous Page
Loading...
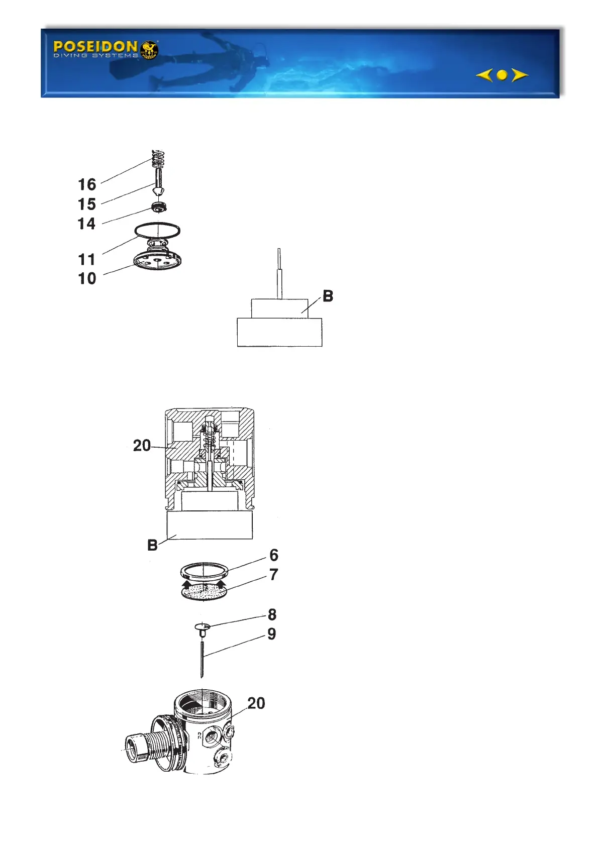
FIRST STAGE VALVE
3790
Assembly:
1. Place on the assembly fixture B:
- valve centre, lowér (10)
- o-ring (11), lubricate
- valve seat (14) with o-ring
downwards
- valve piston (15), lubricate,
and pressure spring (16) on valve
piston.
2. Install the valve housing (20).
3. Turn the valve housing (20) with
the secondary side upwards.
4. Install the valve needle (9).
5. Install the lower diaphragm centre
(8).
6. Install the diaphragm (7) in the
valve centre, upper, convex part up
(6). Install the valve housing (20).
JETSTREAM
1.0:E40

Table of Contents

Other manuals for POSEIDON Jetstream

Related product manuals