EasyManua.ls Logo

Record DFA127 - Lamp

Record DFA127
103 pages
Print Icon
To Next Page IconTo Next Page
To Next Page IconTo Next Page
To Previous Page IconTo Previous Page
To Previous Page IconTo Previous Page
Loading...
Interlock mode with 2 single-leaf doors
18
102-127108955 V1.1 87/ 102
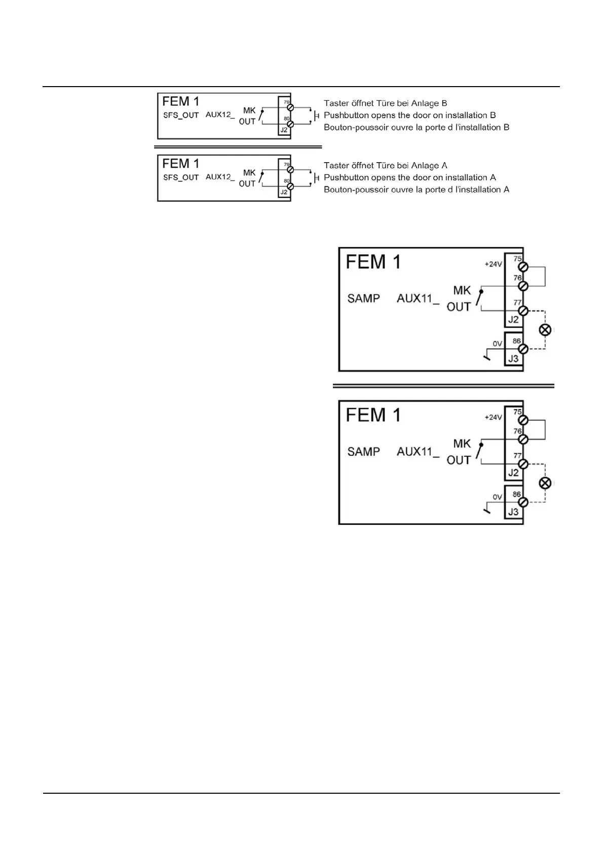
Lamp
Optical or acoustic signal, that the interlock is occupied.
Installation A
Installation B
18.10

Table of Contents

Related product manuals