EasyManua.ls Logo

Rhosonics SDM-4 - Lcd Screen; Schedule Operation Lcd Screen

Default Icon
65 pages
Print Icon
To Next Page IconTo Next Page
To Next Page IconTo Next Page
To Previous Page IconTo Previous Page
To Previous Page IconTo Previous Page
Loading...
SDM Slurry Density Meter
30 www.rhosonics.com
OPERATION
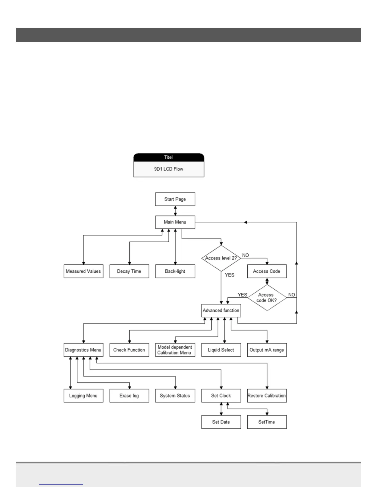
3.2 LCD screen
3.2.1 Schedule operation LCD screen
The LCD screen in combination with the buttons support a low access level functionality.
Because of its location which is close to the process it is possible to do basic calibrations.
Since retreiving log data will go by USB stick it is possible to set time and date for time stamp values
during log, as well as setting the log interval.
A minor system status displays the most relevant error in case of measurement problems.To assure
settings can only be changed by authorized personal most menu’s are hidden behind an access level.

Table of Contents

Related product manuals