EasyManua.ls Logo

Scopus CODICO IRD-2600 - Insertion of the DVB-CI Module (PCMCIA); Figure 2-1: DVB-CI Module and Smart Card Insertion

Scopus CODICO IRD-2600
134 pages
Print Icon
To Next Page IconTo Next Page
To Next Page IconTo Next Page
To Previous Page IconTo Previous Page
To Previous Page IconTo Previous Page
Loading...
IRD-2600 / IRD-2800
Integrated Receiver Decoders
P/N 2349-72784-00 Page 2-3
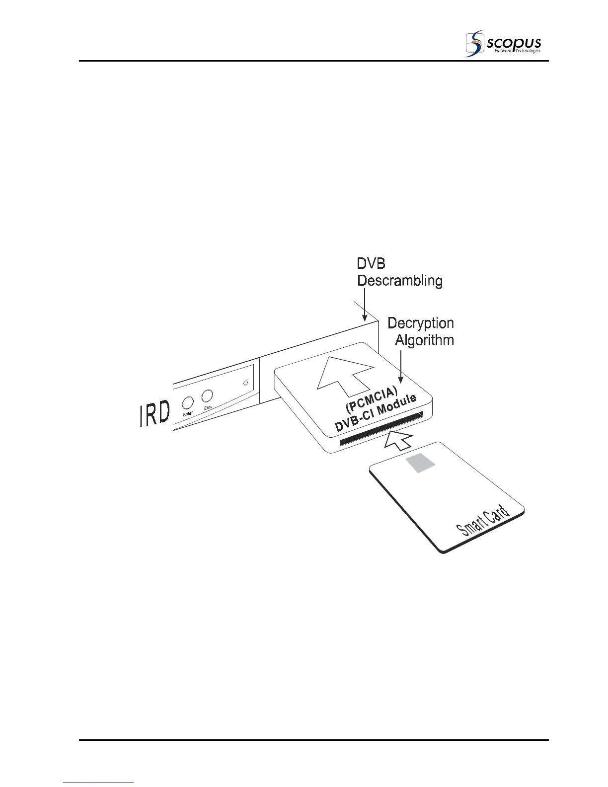
2.3.2. Insertion of the DVB-CI Module (PCMCIA)
Figure 2-1 shows the IRD with DVB-CI Module (PCMCIA card) and the Smart Card used to
decrypt the incoming signal. The IRD is provided with two PCMCIA slots for up to two DVB-CI
Modules. The PCMCIA should be firmly inserted in to the two slots provided to ensure
contact. Each DVB-CI Module accommodates one Smart card, inserted with the UP mark
pointing up and forward.
WARNING
DO NOT ATTEMPT TO REMOVE OR INSERT THE DVB-CI MODULE OR THE
SMART CARD WHILE THE IRD IS POWERED ON OR INNITIALIZING.
Figure 2-1: DVB-CI Module and Smart Card Insertion

Table of Contents

Related product manuals