EasyManua.ls Logo

SICK MLG-2 - Page 18

SICK MLG-2
40 pages
Print Icon
To Next Page IconTo Next Page
To Next Page IconTo Next Page
To Previous Page IconTo Previous Page
To Previous Page IconTo Previous Page
Loading...
20710212019649
MLG-1
MLG-2
2019649
MLG-1
2071021
MLG-2
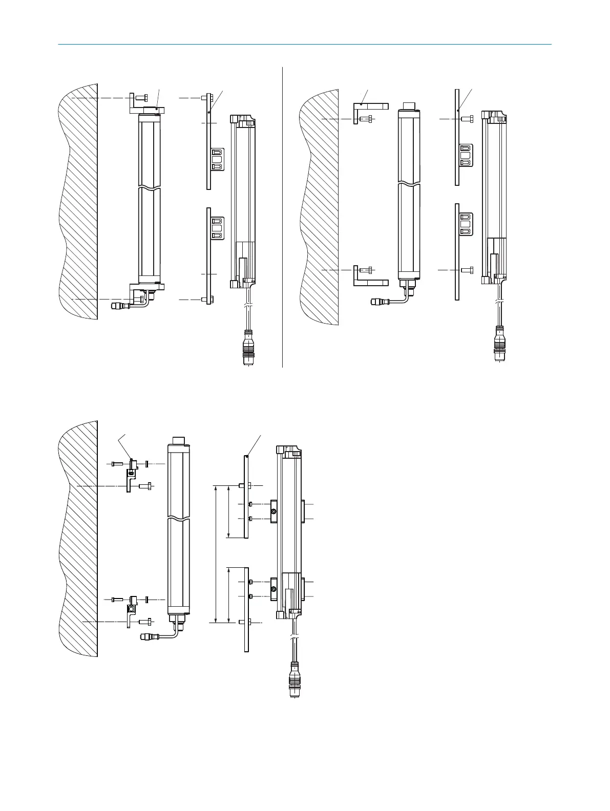
Figure 8: Mounting the MLG-2 with mounting kit BEF-1FSHABP004 – Methods A and B, replacement for side bracket
BEF-NUT-MLG
Figure 9: Mounting the MLG-2 with mounting kit BEF-1FSHABP004 – Method C, replacement for swivel mount bracket
BEF-2SMKEAKU4
5
MOUNTING
18
T E C H N I C A L I N F O R M A T I O N | The MLG-2 as a replacement product for the MLG-1 and XLG 8020351.ZLW3/2017-05-03 | SICK
Subject to change without notice

Table of Contents

Related product manuals