EasyManua.ls Logo

Siemens SIPROTEC 5 V8.83 - Page 259

Siemens SIPROTEC 5 V8.83
296 pages
To Next Page IconTo Next Page
To Next Page IconTo Next Page
To Previous Page IconTo Previous Page
To Previous Page IconTo Previous Page
Loading...
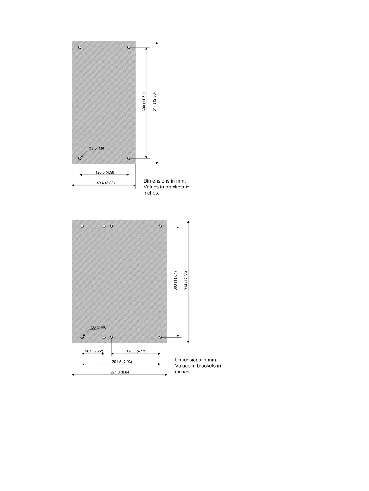
[dwbohrge-1_3.vsd, 2, en_US]
Figure 6-15 Drilling Pattern of a 1/3 Surface-Mounted Device – 1st Device Row
[dwbohrge-1_2.vsd, 2, en_US]
Figure 6-16
Drilling Pattern of a 1/2 Surface-Mounted Device – 1st Device Row
Technical Data
6.14 Assembly Dimensions
SIPROTEC 5, Hardware Description, Manual 259
C53000-G5040-C002-M, Edition 12.2021

Table of Contents

Related product manuals