EasyManua.ls Logo

SUMMACUT D520 - Page 25

SUMMACUT D520
64 pages
Print Icon
To Next Page IconTo Next Page
To Next Page IconTo Next Page
To Previous Page IconTo Previous Page
To Previous Page IconTo Previous Page
Loading...
SummaCut Series Cutters Users Manual
General Information 1-16
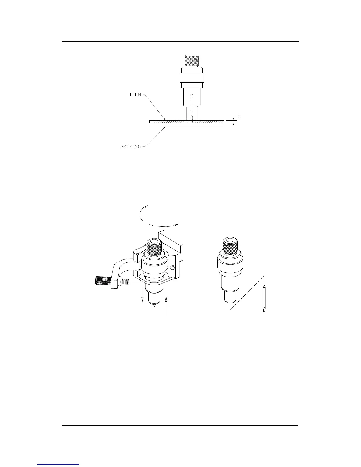
t
FIGURE 1-5
BLADE LENGTH ADJUSTMENT
4. Turn the cutting depth adjustment screw clockwise to increase the cutting
depth. Turning the cutting depth adjustment screw anticlockwise will
decrease the cutting depth.
CLAMP ARM
CLAMPING
SCREW
+
_
FIGURE 1-6
SETTING KNIFE DEPTH
5. To install the knife into the tool carriage :
- Loosen the clamping screw, swing the clamp arm back and load the
knife.
- Close the clamp arm and tighten the clamping screw.

Table of Contents